授权公布号:CN217764219U
一种新型肠溶包衣系统
有效
申请
2022-07-07
申请公布
1970-01-01
授权
2022-11-08
预估到期
2032-07-07
| 申请号 | CN202221732995.7 |
| 申请日 | 2022-07-07 |
| 授权公布号 | CN217764219U |
| 授权公告日 | 2022-11-08 |
| 分类号 | F26B11/04;F26B23/04;F26B25/02;F26B25/16;F26B25/00;A61J3/07 |
| 分类 | 干燥; |
| 申请人名称 | 浙江惠嘉生物科技股份有限公司 |
| 申请人地址 | 浙江省湖州市安吉县梅溪镇晓墅工业功能区 |
专利法律状态
2022-11-08
授权
状态信息
授权
摘要
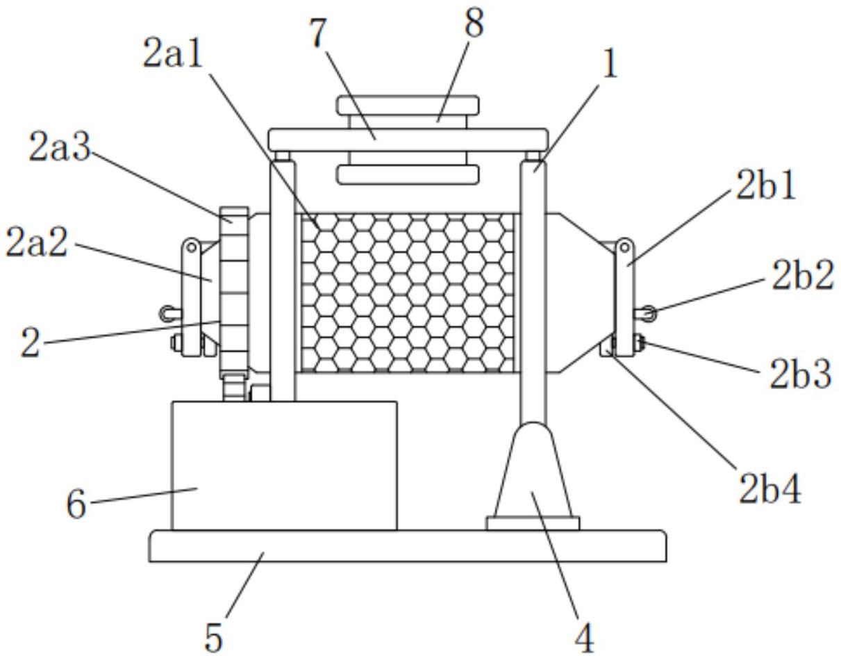
本实用新型公开了一种新型肠溶包衣系统,包括竖板,所述竖板的顶部固定连接有横板,所述横板的内壁固定连接有烘干机,所述竖板的一侧设有转动结构,所述竖板的下方设有排料结构,所述转动结构包括筒体,两个所述筒体的外壁一侧通过轴承与竖板的内壁转动连接,一侧所述筒体的外壁一侧固定连接有齿轮一,所述齿轮一的下方啮合连接有齿轮二。该新型肠溶包衣系统,通过竖板、底座、底板、壳体、横板、烘干机和转动结构的配合,使得该装置在使用时,可以通过电机带动齿轮二转动,齿轮二带动齿轮一转动,齿轮一带动一侧的筒体转动,进而使网筒发生转动,进而在对肠溶包衣进行干燥时,对肠溶包衣进行翻转,提高对肠溶包衣的干燥效果。


