授权公布号:CN218609205U
饲料添加剂生产用辅助加料装置
有效
申请
2022-09-28
申请公布
1970-01-01
授权
2023-03-14
预估到期
2032-09-28
| 申请号 | CN202222584402.3 |
| 申请日 | 2022-09-28 |
| 授权公布号 | CN218609205U |
| 授权公告日 | 2023-03-14 |
| 分类号 | B01F35/71;B01F35/12;A23N17/00 |
| 分类 | 一般的物理或化学的方法或装置; |
| 申请人名称 | 浙江惠嘉生物科技股份有限公司 |
| 申请人地址 | 浙江省湖州市安吉县梅溪镇晓墅工业功能区 |
专利法律状态
2023-03-14
授权
状态信息
授权
摘要
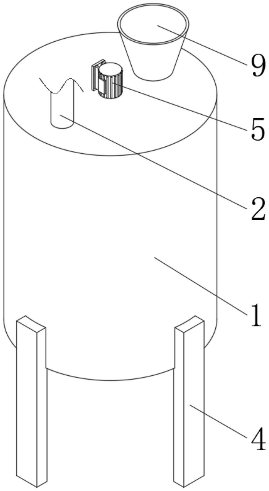
本实用新型涉及饲料添加剂生产技术领域,且公开了饲料添加剂生产用辅助加料装置,包括搅拌桶及其表面的支撑腿,所述搅拌桶顶部的左侧连通设置有进料管,所述搅拌桶内腔的底部固定有电动出料口,所述搅拌桶的顶部固定有第一电机;本实用新型通过导向机构使辅助原料能够分散在搅拌桶的内部,增加其分散效果,不仅减少了需要混合的时间,而且也提高了产品的品质,同时在混合完毕后,清洁刷可以对搅拌桶的内壁进行清理,使其内壁不会残留原料,不仅不会造成原料的浪费,同时也不会对下次混合的配比造成影响,解决了目前的加料装置在使用时,不能对原料进行分散,同时混合完毕后不能对其内部进行清理的问题。


