授权公布号:CN113181829B
一种宠物饲料自动化成型加工机械及成型加工方法
有效
申请
2021-04-29
申请公布
2021-07-30
授权
2023-04-21
预估到期
2041-04-29
| 申请号 | CN202110471926.9 |
| 申请日 | 2021-04-29 |
| 申请公布号 | CN113181829A |
| 申请公布日 | 2021-07-30 |
| 授权公布号 | CN113181829B |
| 授权公告日 | 2023-04-21 |
| 分类号 | B01J2/00;B01J2/22;B01J4/00;B01J4/02;A23N17/00;A23K40/10 |
| 分类 | 一般的物理或化学的方法或装置; |
| 申请人名称 | 浙江惠嘉生物科技股份有限公司 |
| 申请人地址 | 浙江省湖州市安吉县梅溪镇晓墅工业功能区 |
专利法律状态
2023-04-21
授权
状态信息
授权
2021-07-30
公布
状态信息
公布
摘要
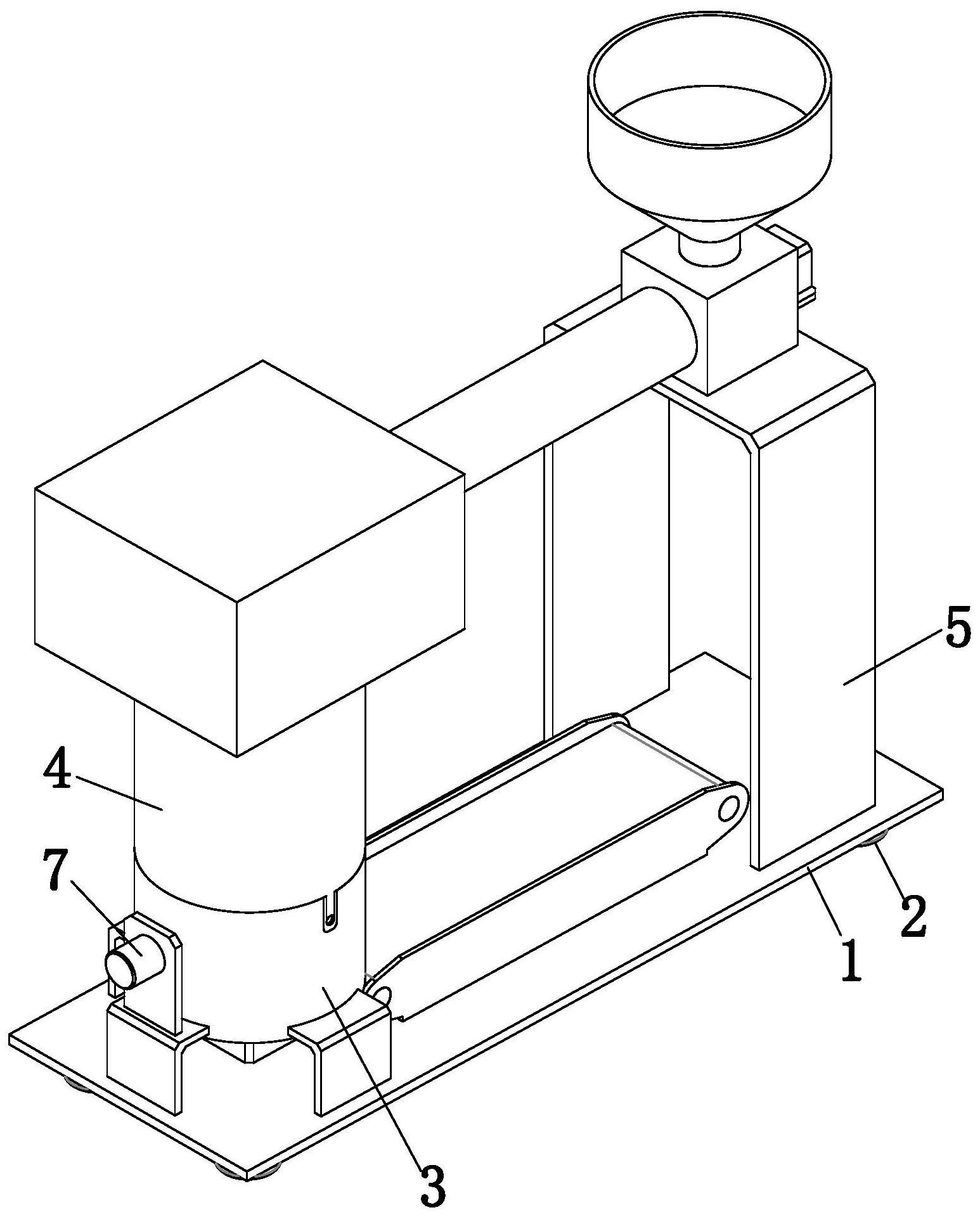
本发明提供了一种宠物饲料自动化成型加工机械及成型加工方法,包括安装底板、支撑脚、落料筒、造粒筒、输送机构、造粒机构和落料机构,本发明可解决宠物饲料自动化成型加工作业时难以在输送的过程中将宠物饲料进行分散摊平,减少饲料堆积后的成团现象,也难以在后续挤压成型作业过程中使各区域的宠物饲料厚度保持一致,进一步使宠物饲料挤压过程中的密度保持均匀,难以对造粒过程中的长条状饲料块进行定型导向,提升饲料间的聚合程度,也难以对长条状的宠物饲料进行定距切断作业,使成型后的颗粒状宠物饲料的体积保持一致,更难以对切断后的颗粒状宠物饲料进行快速的干燥定型,减少下落时粘结的现象等问题。


