授权公布号:CN218553904U
一种蛋白螯合微量元素生产设备
有效
申请
2022-11-03
申请公布
1970-01-01
授权
2023-03-03
预估到期
2032-11-03
| 申请号 | CN202222922089.X |
| 申请日 | 2022-11-03 |
| 授权公布号 | CN218553904U |
| 授权公告日 | 2023-03-03 |
| 分类号 | B01F33/81;B01F27/90;B01F27/85;B01F35/92 |
| 分类 | 一般的物理或化学的方法或装置; |
| 申请人名称 | 浙江惠嘉生物科技股份有限公司 |
| 申请人地址 | 浙江省湖州市安吉县梅溪镇晓墅工业功能区 |
专利法律状态
2023-03-03
授权
状态信息
授权
摘要
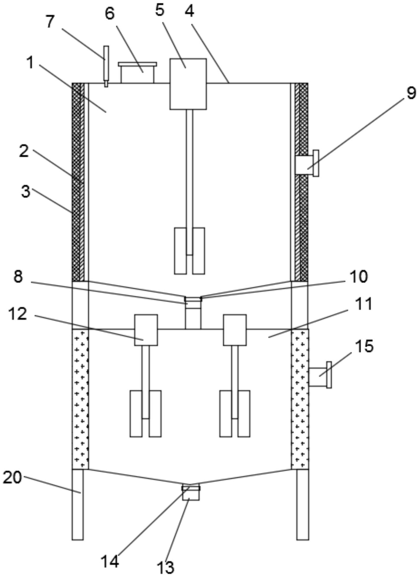
本实用新型为一种蛋白螯合微量元素生产设备,包括支架,支架上上下叠放有第一搅拌机构和第二搅拌机构,第一搅拌机构包括搅拌箱体,搅拌箱体的侧壁均为中空金属板且内壁上涂有耐碱涂层,第二搅拌机构的顶部设有与出料口对接的落料口,第二搅拌机构的顶部位于落料口的两侧还分别设置有一个延伸至第二搅拌机构内的第二搅拌装置,第二搅拌机构的底部开设有筛料口,第二搅拌机构的侧壁也呈中空。本实用新型在加热到所需温度后通过保温层保温,第二搅拌机构也通过中空的侧壁设计从而灌装有冷却液,使得加热并加入无机盐搅拌处理后的原料可以在落入第二搅拌机构后得到快速的搅拌冷却,从而提高了生产效率。


