授权公布号:CN218165634U
一种微囊缓释制剂生产系统
有效
申请
2022-07-07
申请公布
1970-01-01
授权
2022-12-30
预估到期
2032-07-07
| 申请号 | CN202221732975.X |
| 申请日 | 2022-07-07 |
| 授权公布号 | CN218165634U |
| 授权公告日 | 2022-12-30 |
| 分类号 | A61J3/07 |
| 分类 | 医学或兽医学;卫生学; |
| 申请人名称 | 浙江惠嘉生物科技股份有限公司 |
| 申请人地址 | 浙江省湖州市安吉县梅溪镇晓墅工业功能区 |
专利法律状态
2022-12-30
授权
状态信息
授权
摘要
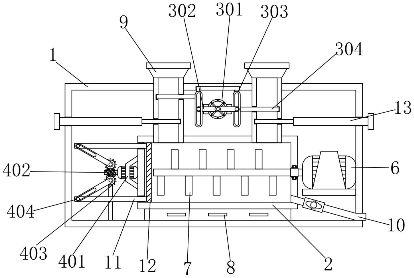
本实用新型公开了一种微囊缓释制剂生产系统,包括机壳,所述机壳的内部下方与搅拌室相固接,所述搅拌室的底部安装有多个电加热板,所述搅拌室的顶部开设有两个进料管,所述搅拌室的一侧与出料管相连通,所述机壳的内部右侧通过支架与第一电机相固接,所述第一电机的输出端与搅拌杆相固接。该微囊缓释制剂生产系统,通过第二电机、竖板和控料板之间的配合,启动第二电机,第二电机的输出端带动第一连杆转动,第一连杆会通过滑槽使两侧竖板向外侧移动,竖板带动控料板移动,控料板会将溶液进行分层,解决了现有的微囊缓释制剂生产系统在对囊材和囊心物的比例控制大多需要人为测量,在倒入搅拌室内,即会出现误差,又会影响生产效率的问题。


