授权公布号:CN208395175U
外管气泡留滞式发酵罐
有效
申请
2018-04-23
申请公布
1970-01-01
授权
2019-01-18
预估到期
2028-04-23
| 申请号 | CN201820581366.6 |
| 申请日 | 2018-04-23 |
| 授权公布号 | CN208395175U |
| 授权公告日 | 2019-01-18 |
| 分类号 | C12M1/04;C12M1/02;C12M1/00 |
| 分类 | 生物化学;啤酒;烈性酒;果汁酒;醋;微生物学;酶学;突变或遗传工程; |
| 申请人名称 | 上海欧耐施生物技术有限公司 |
| 申请人地址 | 上海市松江区泖港镇西厍一路28号三栋厂房 |
专利法律状态
2019-01-18
授权
状态信息
授权
摘要
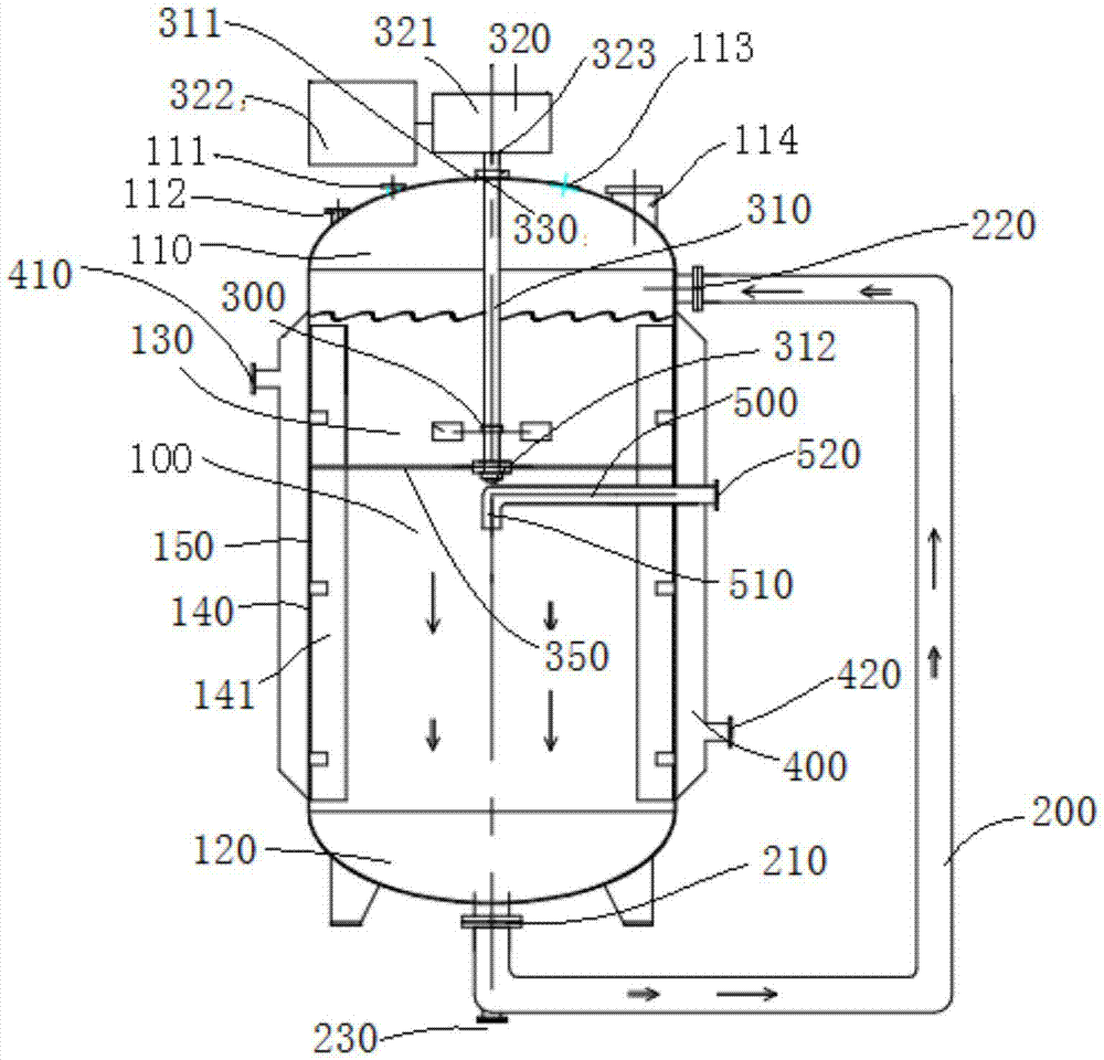
本实用新型公开的外管气泡留滞式发酵罐,包括发酵罐罐体,其还包括设置在发酵罐罐体底部的循环出料口和上部的循环进料口,循环出料口与循环进料口通过一设置在发酵罐罐体外的物料循环外管联通;一设置在发酵罐罐体内上部位置的搅拌推进器;一空气进口管,空气进口管的出口位于发酵罐罐体内并位于搅拌推进器的下方,入口位于发酵罐罐体外与无菌空气源连接。本实用新型结构合理,保证微生物发酵供氧的顺利进行,大大减少所需无菌空气量,从而降低发酵运行成本。


