授权公布号:CN210496622U
一种颗粒型淀粉酶高频振动匀料装置
有效
申请
2019-04-30
申请公布
1970-01-01
授权
2020-05-12
预估到期
2029-04-30
| 申请号 | CN201920613643.1 |
| 申请日 | 2019-04-30 |
| 授权公布号 | CN210496622U |
| 授权公告日 | 2020-05-12 |
| 分类号 | B02C13/14;B02C19/16;B02C23/16;A23N17/00 |
| 分类 | 破碎、磨粉或粉碎;谷物碾磨的预处理; |
| 申请人名称 | 上海欧耐施生物技术有限公司 |
| 申请人地址 | 上海市松江区泖港镇西厍一路28号三栋厂房 |
专利法律状态
2020-05-12
授权
状态信息
授权
摘要
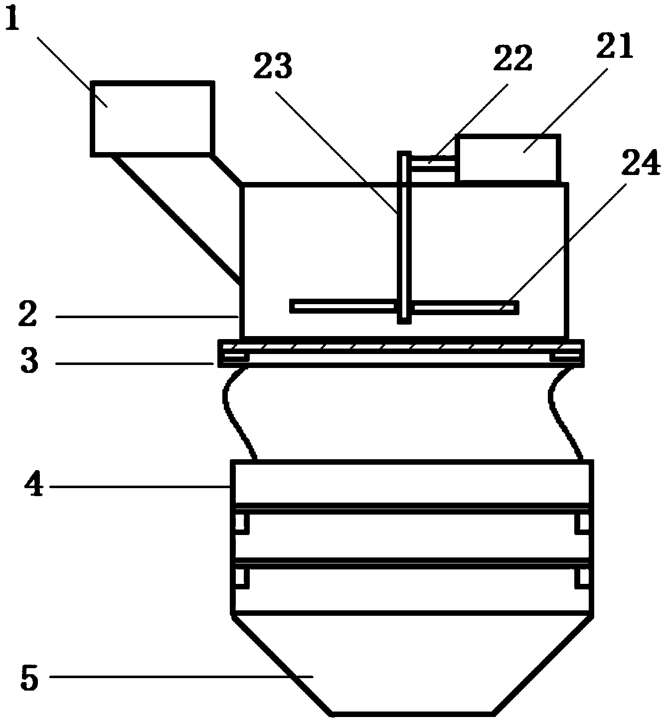
本实用新型公开了一种颗粒型淀粉酶高频振动匀料装置,包括进料斗、初级粉碎箱、振动筛网、高频粉碎箱和出料口;所述进料斗向下连接所述初级粉碎箱的侧壁,所述初级粉碎箱内设置有粉碎机构,所述初级粉碎箱的底部设置所述振动筛网,所述振动筛网下部通过软管连接高频粉碎箱,所述高频粉碎箱内部设置至少一个上下联通的高频粉碎腔室,每一个高频粉碎腔室之间连接一个筛料板,所述筛料板的筛料孔直径向下依次缩小,所述筛料板的两端均连接高频震荡片,所述出料口安装在所述高频粉碎箱的下方。


