授权公布号:CN219032145U
一种带有搅拌功能的酵母水解物制备容器
有效
申请
2022-12-07
申请公布
1970-01-01
授权
2023-05-16
预估到期
2032-12-07
| 申请号 | CN202223273645.1 |
| 申请日 | 2022-12-07 |
| 授权公布号 | CN219032145U |
| 授权公告日 | 2023-05-16 |
| 分类号 | C12M1/02;C12M1/00;B08B9/087 |
| 分类 | 生物化学;啤酒;烈性酒;果汁酒;醋;微生物学;酶学;突变或遗传工程; |
| 申请人名称 | 湖北海宜生物科技有限公司 |
| 申请人地址 | 湖北省襄阳市宜城市雷雁大道 |
专利法律状态
2023-05-16
授权
状态信息
授权
摘要
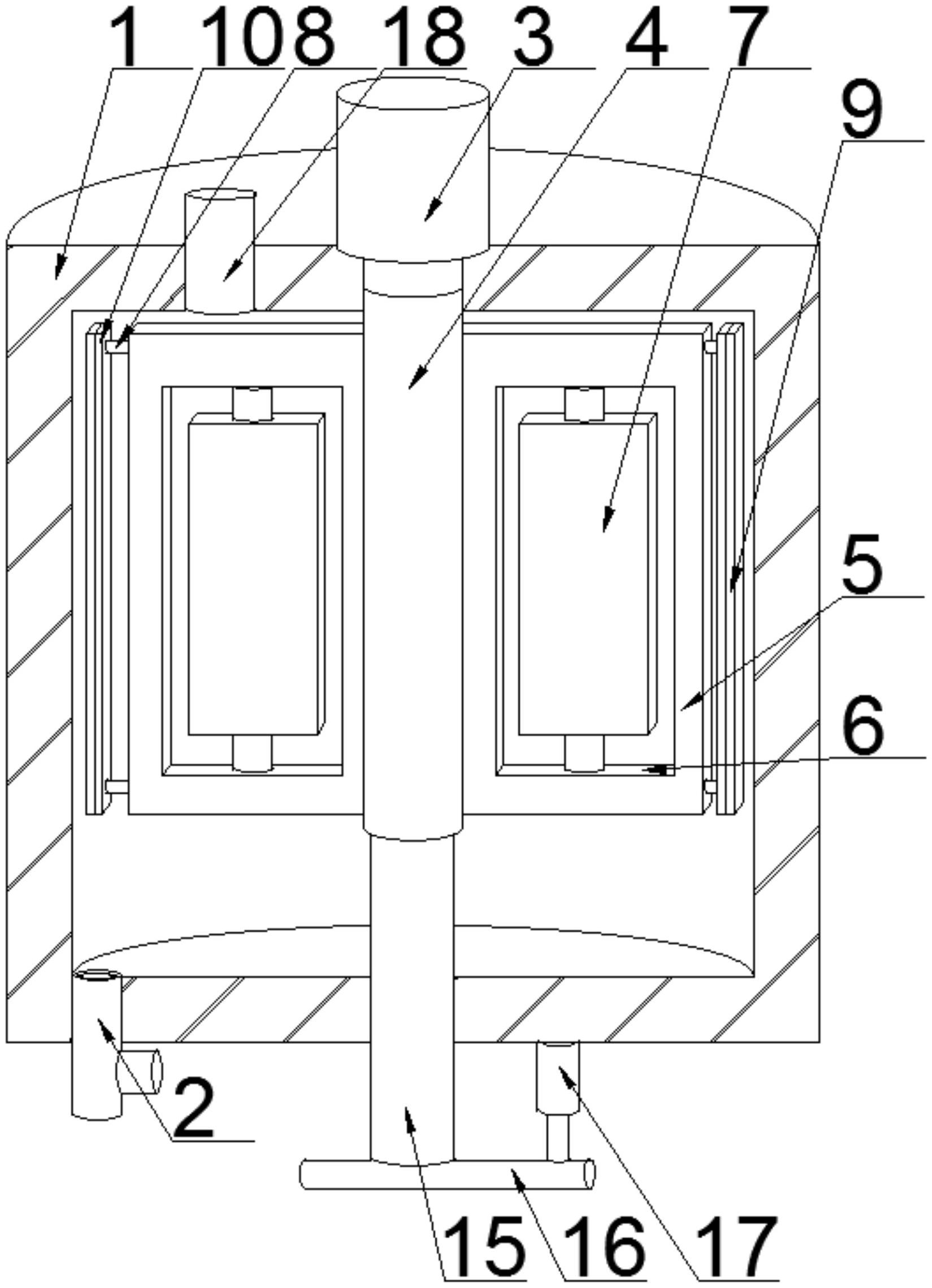
本实用新型公开了一种带有搅拌功能的酵母水解物制备容器,包括箱体,箱体的顶端和底端分别插接有进料管和出料管,箱体的顶端固定连接有电机,电机的输出端穿过箱体固定连接有转杆,转杆的两侧固定连接有固定板,固定板开设有小槽,小槽的内壁转动连接有转板,固定板滑动连接有滑架,滑架的一端固定连接有刮板,本实用新型的有益效果是:从进料管加入酵母和水,通过让电机的输出端转动,使得转杆带着固定板转动,这样固定板对箱体内的酵母和水进行混合,同时转板受到水的阻力也能进行转动,从而进一步对酵母和水进行混合,使得搅拌混合的效果更好,并且刮板能对箱体的内壁进行清理,防止箱体的内壁粘附有少量酵母,影响下一次的混合。


