授权公布号:CN212640462U
一种酵母粉生产发酵用发酵罐
有效
申请
2020-01-17
申请公布
1970-01-01
授权
2021-03-02
预估到期
2030-01-17
| 申请号 | CN202020100773.8 |
| 申请日 | 2020-01-17 |
| 授权公布号 | CN212640462U |
| 授权公告日 | 2021-03-02 |
| 分类号 | C12M1/02;C12M1/00 |
| 分类 | 生物化学;啤酒;烈性酒;果汁酒;醋;微生物学;酶学;突变或遗传工程; |
| 申请人名称 | 湖北海宜生物科技有限公司 |
| 申请人地址 | 湖北省襄阳市宜城市雷雁大道 |
专利法律状态
2021-03-02
授权
状态信息
授权
摘要
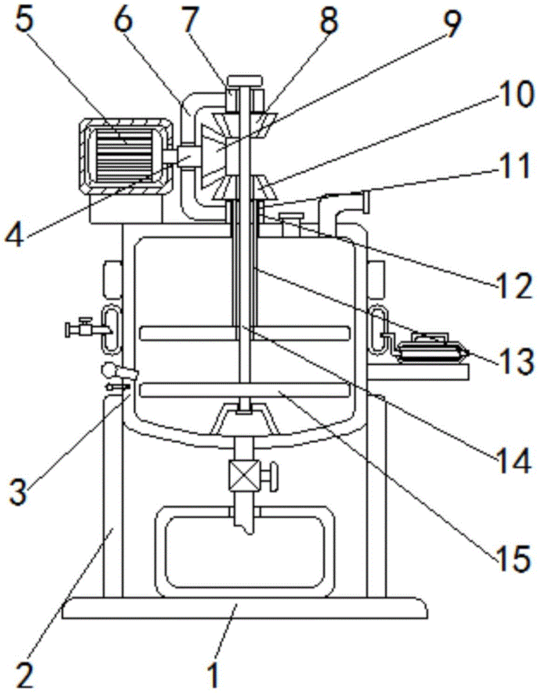
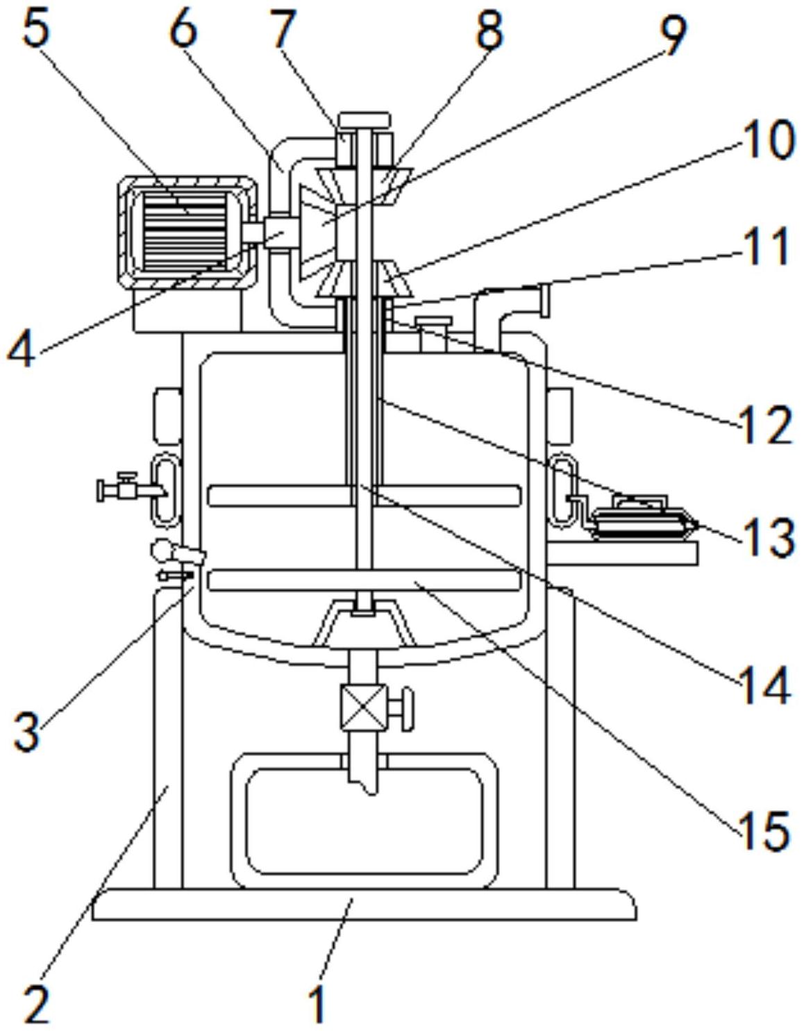
本实用新型涉及酵母粉生产设备技术领域,且公开了一种酵母粉生产发酵用发酵罐,包括底板,所述底板的顶部左右两侧均固定安装有支柱,两个所述支柱的顶部内侧均固定安装有罐体,所述罐体的顶部固定安装有固定块。该酵母粉生产发酵用发酵罐,通过主齿轮与第一齿轮和第二齿轮,可实现让套筒和转杆往相反方向转动,从而让物料在搅拌棒的作用下能够充分反应,通过液压泵、电源、冷却管和加热片,使得根据温度计的温度进行调节,进而对发酵罐的温度进行控制,从而使得发酵罐中的物料能够在最适宜的温度下发酵,加快发酵速率,通过pH电极,可检测酵母粉的酸碱度,解决了发酵效果差、发酵速度慢、不能检测酸碱度问题。


