授权公布号:CN217989411U
一种饲料超微粉碎机
有效
申请
2022-05-31
申请公布
1970-01-01
授权
2022-12-09
预估到期
2032-05-31
| 申请号 | CN202221378517.0 |
| 申请日 | 2022-05-31 |
| 授权公布号 | CN217989411U |
| 授权公告日 | 2022-12-09 |
| 分类号 | B02C1/14;B02C4/00;B02C4/28;B02C23/16;A23N17/00 |
| 分类 | 破碎、磨粉或粉碎;谷物碾磨的预处理; |
| 申请人名称 | 武汉市科洋生物工程有限公司 |
| 申请人地址 | 湖北省武汉市洪山区珞狮南路明泽丽湾1幢C单元16层 |
专利法律状态
2022-12-09
授权
状态信息
授权
摘要
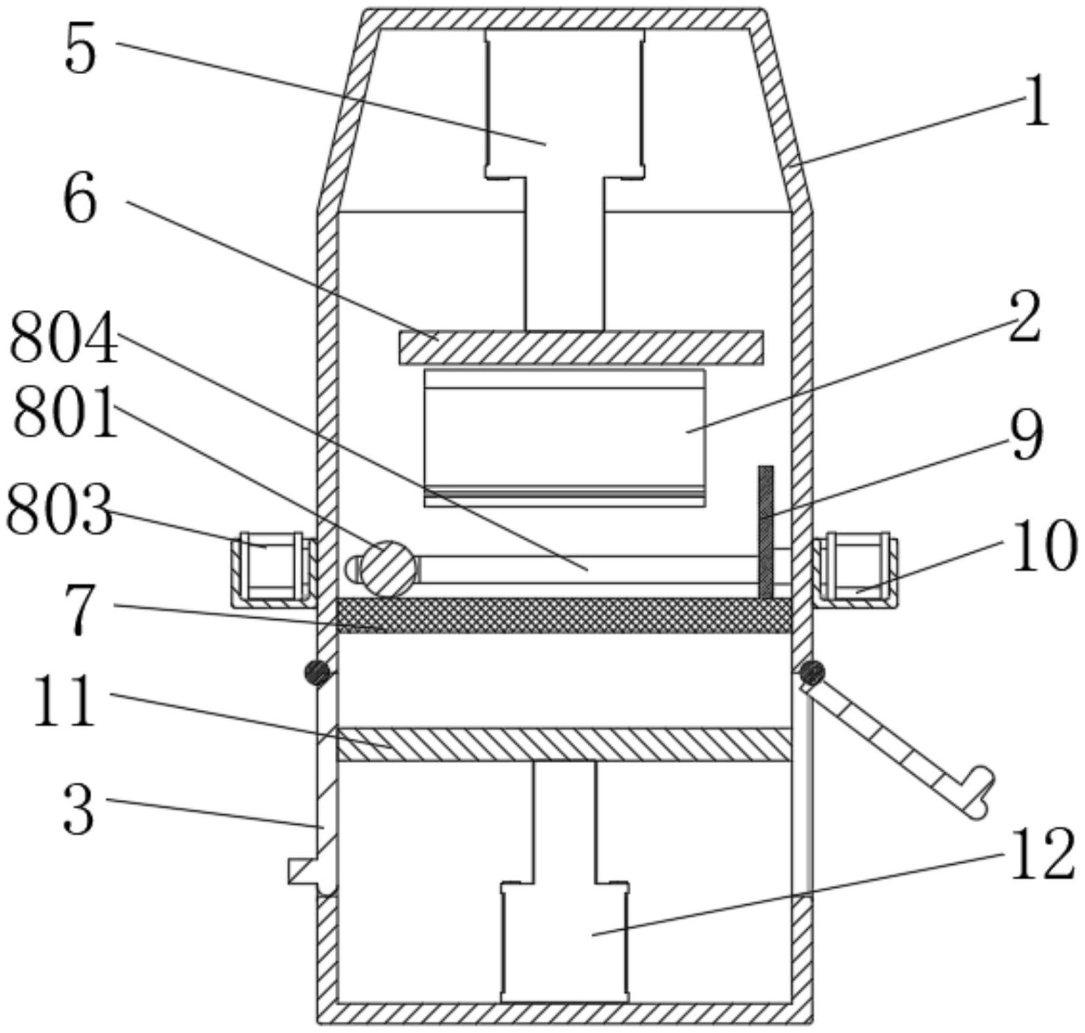
本实用新型提供一种饲料超微粉碎机,涉及饲料加工技术领域,包括粉碎机主体和承重导向座,粉碎机主体内部设有加工微孔网板,加工微孔网板顶部设有压力粉碎板,加工微孔网板表面一侧设有聚料推板,加工微孔网板另一侧设有研磨装置,研磨装置包括研磨辊和驱动电机,研磨辊两端连接设有驱动电机,驱动电机侧面连接设有推动液压缸,聚料推板侧面设有推板液压缸,压力粉碎板顶端设有粉碎液压缸,压力粉碎板进行饲料的快速粉碎按压后,驱动电机带动研磨辊旋转对加工微孔网板表面的饲料进行反复研磨成粉,聚料推板进行饲料的分散,通过按压粉碎和多次研磨进行饲料的粉碎处理,减少饲料粉碎时的粉尘,便于大面积快速对饲料进行精细粉碎。


