授权公布号:CN218852347U
一种基于物联网的挂钩式智能货架
有效
申请
2022-08-30
申请公布
1970-01-01
授权
2023-04-14
预估到期
2032-08-30
| 申请号 | CN202222297206.8 |
| 申请日 | 2022-08-30 |
| 授权公布号 | CN218852347U |
| 授权公告日 | 2023-04-14 |
| 分类号 | A47F5/00;A47F11/00;H04Q9/00;H04L67/12;G08B21/24;G08B5/36;G16Y20/00;G16Y40/10 |
| 分类 | 家具;家庭用的物品或设备;咖啡磨;香料磨;一般吸尘器; |
| 申请人名称 | 中航电测仪器股份有限公司 |
| 申请人地址 | 陕西省汉中市经济开发北区鑫源路 |
专利法律状态
2023-04-14
授权
状态信息
授权
摘要
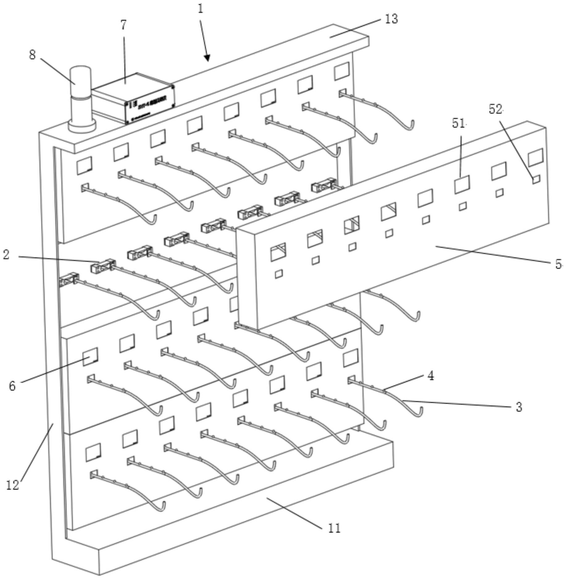
本实用新型一种基于物联网的挂钩式智能货架,包括智能货架主体,智能货架主体上沿水平方向设置有多个挂钩,挂钩一端连接有重力传感器的采集端,另一端为弯折段;挂钩一侧的智能货架主体上还一一对应设置有显示屏;显示屏的输入端和重力传感器的输出端分别电性连接有综合处理器;本申请通过挂钩和重力感应器的连接,解决现有技术中需要挂式存储物品的统一存储和数量识别的功能,同时通过显示屏对存储物品种类的显示,便于本领域技术人员的存取,综合处理器能够实现简单计数和阈值判断,进而节省人力成本,可大量应用于货架储物技术领域。


