授权公布号:CN218566416U
一种高温度性能的应变计
有效
申请
2022-10-31
申请公布
1970-01-01
授权
2023-03-03
预估到期
2032-10-31
| 申请号 | CN202222890730.6 |
| 申请日 | 2022-10-31 |
| 授权公布号 | CN218566416U |
| 授权公告日 | 2023-03-03 |
| 分类号 | G01B7/16 |
| 分类 | 测量;测试; |
| 申请人名称 | 中航电测仪器股份有限公司 |
| 申请人地址 | 陕西省汉中市经济开发北区鑫源路 |
专利法律状态
2023-03-03
授权
状态信息
授权
摘要
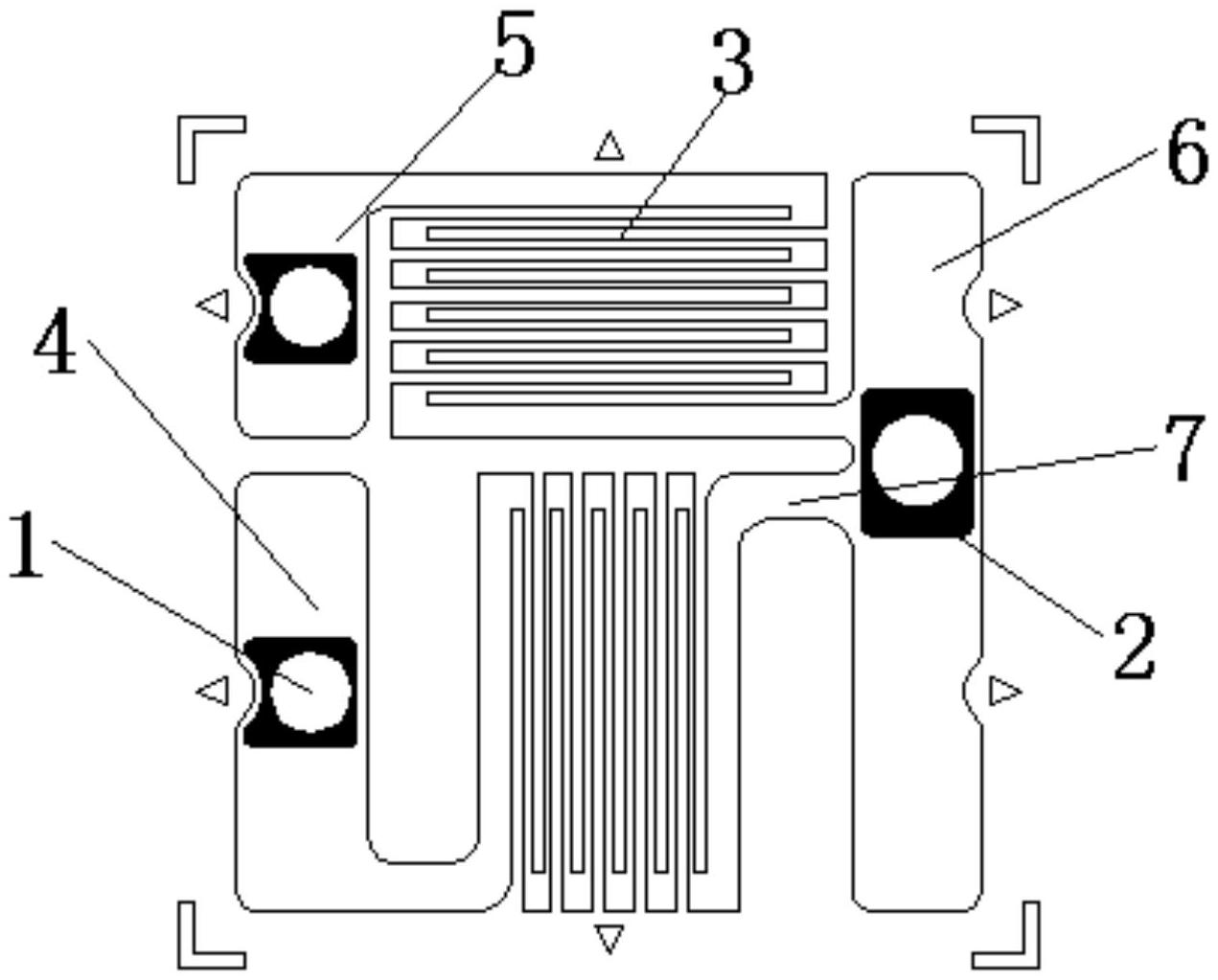
本实用新型公开了一种高温度性能的应变计,包括多个敏感栅;每个敏感栅两侧均连接有一个焊盘,所有敏感栅和焊盘共同组成惠斯通电桥,每个焊盘的中心设置有焊锡点,焊锡点和焊盘之间设置有铜层,每个焊盘的铜层面积相同。避免了焊盘镀铜应变计随着环境温度变化引起的电阻变化,从而提升传感器或测量元器件的温度性能。


