授权公布号:CN218863031U
一种锁线螺母组件
有效
申请
2022-09-30
申请公布
1970-01-01
授权
2023-04-14
预估到期
2032-09-30
| 申请号 | CN202222651464.1 |
| 申请日 | 2022-09-30 |
| 授权公布号 | CN218863031U |
| 授权公告日 | 2023-04-14 |
| 分类号 | F16B33/00;F16B39/24 |
| 分类 | 工程元件或部件;为产生和保持机器或设备的有效运行的一般措施;一般绝热; |
| 申请人名称 | 中航电测仪器股份有限公司 |
| 申请人地址 | 陕西省汉中市经济开发北区鑫源路 |
专利法律状态
2023-04-14
授权
状态信息
授权
摘要
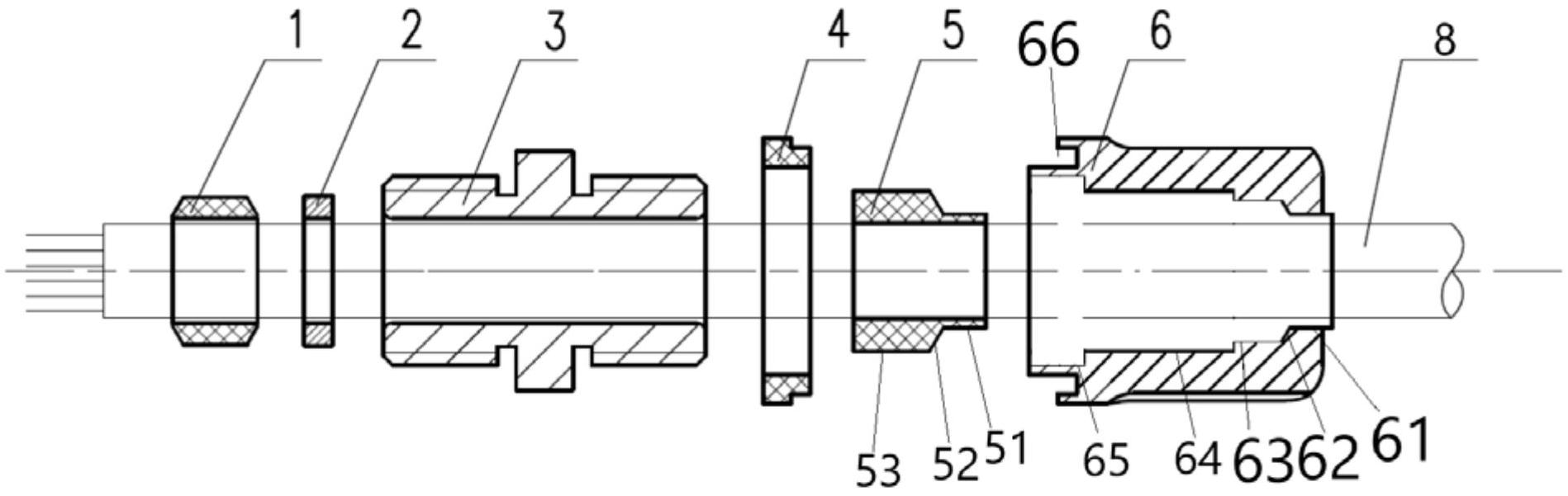
本实用新型属于结构密封技术领域,具体涉及一种锁线螺母组件。一种锁线螺母组件,包括用于依此套设在导线上的螺母、第三密封圈、第二密封圈、螺柱、卡圈、和第一密封圈,所述螺柱中部套设有空心圆柱,所述空心圆柱两侧的螺柱表面设有第一螺纹和第二螺纹,所述空心圆柱圆周上设有第一平面。本实用新型通过在螺柱中间设置空心圆柱,并在空心圆柱上设置第一平面,能够精确控制螺柱和螺母的旋入深度,进一步保证第一密封圈、第二密封圈和第三密封圈的压缩量,保证了整个螺母组件的可靠密封。


