授权公布号:CN218036058U
一种手动力加载装置
有效
申请
2021-08-19
申请公布
1970-01-01
授权
2022-12-13
预估到期
2031-08-19
| 申请号 | CN202121962835.7 |
| 申请日 | 2021-08-19 |
| 授权公布号 | CN218036058U |
| 授权公告日 | 2022-12-13 |
| 分类号 | G01N3/08;G01N3/02 |
| 分类 | 测量;测试; |
| 申请人名称 | 中航电测仪器股份有限公司 |
| 申请人地址 | 陕西省汉中市经济开发北区鑫源路 |
专利法律状态
2022-12-13
授权
状态信息
授权
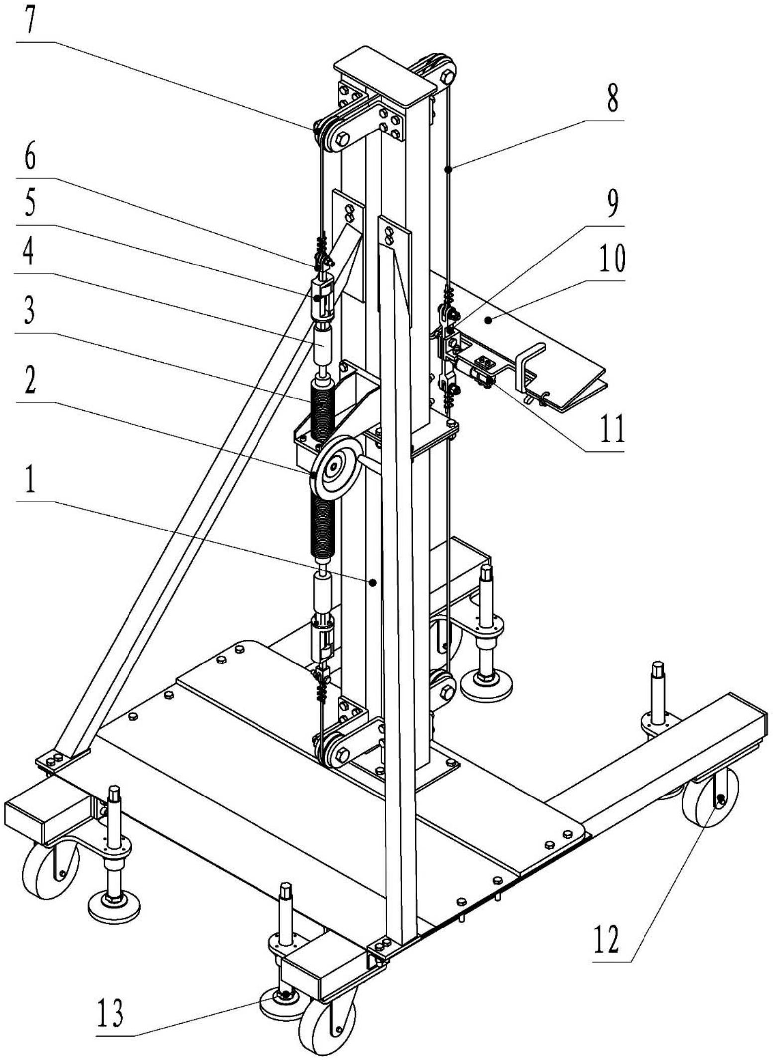
摘要
一种手动力加载装置,包括底座、主体钢架、螺旋升降机、传力装置和测力装置;主体钢架设置在底座上,沿主体钢架的长度方向设置有螺旋升降机,螺旋升降机的两端分别连接传力装置的一端,传力装置的另一端连接在测力装置上。本实用新型替代传统手工加载砝码的形式,实现在各种外场测试环境下的力值加载,从根本上解决传统手工加载砝码所引起的砝码加载、搬运、储存耗时耗力的问题。


