授权公布号:CN218496240U
一种使用摇柱式结构称重传感器的称重模块
有效
申请
2022-08-31
申请公布
1970-01-01
授权
2023-02-17
预估到期
2032-08-31
| 申请号 | CN202222314257.7 |
| 申请日 | 2022-08-31 |
| 授权公布号 | CN218496240U |
| 授权公告日 | 2023-02-17 |
| 分类号 | G01G19/00;G01G21/08;G01C9/00 |
| 分类 | 测量;测试; |
| 申请人名称 | 中航电测仪器股份有限公司 |
| 申请人地址 | 陕西省汉中市经济开发北区鑫源路 |
专利法律状态
2023-02-17
授权
状态信息
授权
摘要
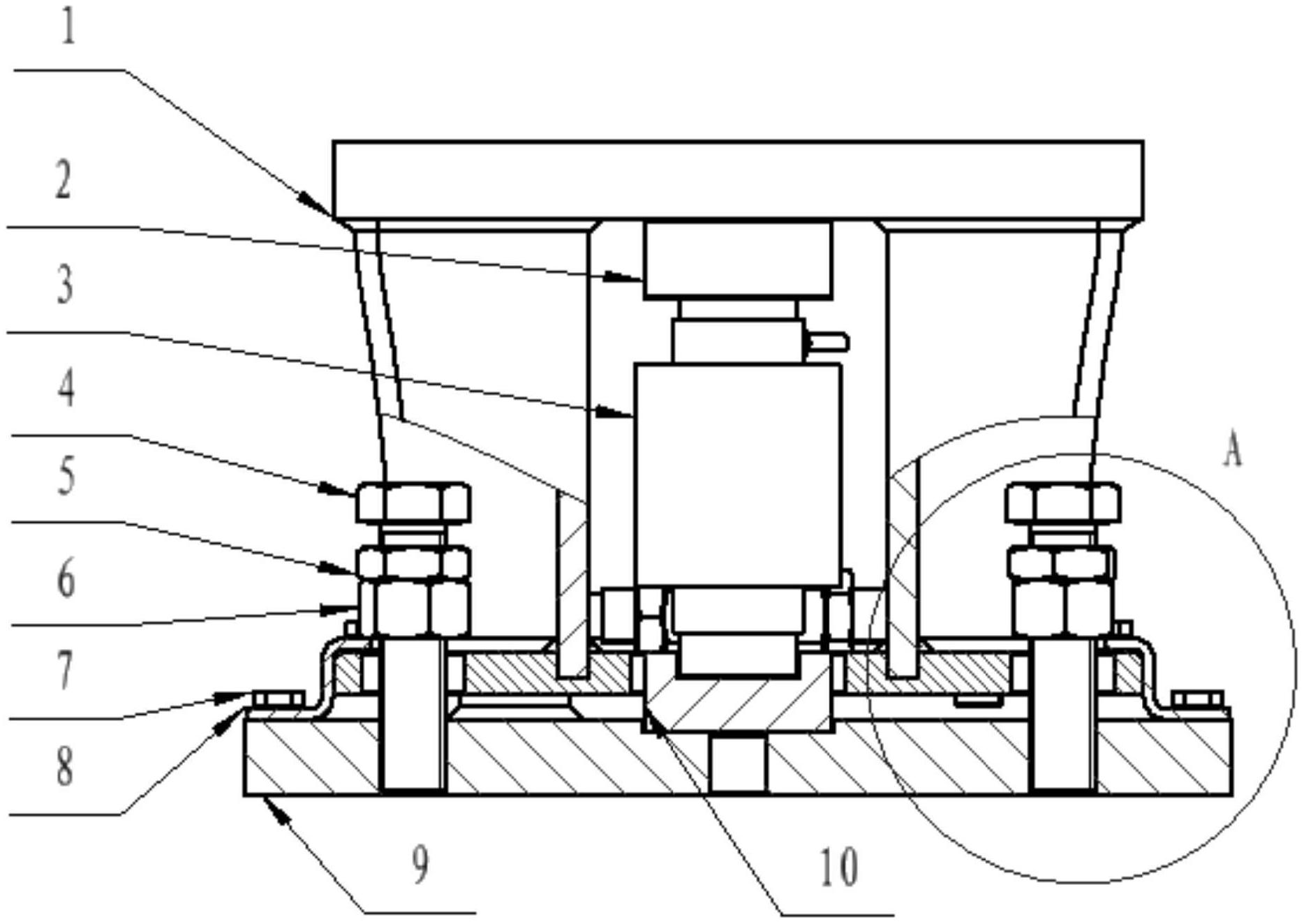
本实用新型公开了一种使用摇柱式结构称重传感器的称重模块,包括上顶板、摇柱式传感器、下底板、防倾覆螺栓和水平稳拉杆;上顶板包括上板、支承板和下板,上板和下板水平设置,支承板竖直设置在上板和下板之间,摇柱式传感器设置在上板和下板之间,下板间隙设置在下底板上,下板上设置有通孔,防倾覆螺栓穿过通孔与下底板螺纹连接;下板上设置有螺纹通孔,下底板上设置有圆形螺柱,水平稳拉杆两端为杆端关节轴承,两个杆端关节轴承分别采用固定销螺栓与螺纹通孔和圆形螺柱连接,两个固定销螺栓为竖直设置。避免了下板翘曲变形过大的问题,方便了加工制造,节省了生产成本。


