授权公布号:CN205542465U
开关
失效
申请
2016-01-21
申请公布
1970-01-01
授权
2016-08-31
预估到期
2026-01-21
| 申请号 | CN201620061614.5 |
| 申请日 | 2016-01-21 |
| 授权公布号 | CN205542465U |
| 授权公告日 | 2016-08-31 |
| 分类号 | H01H9/02;H01H9/00 |
| 分类 | 基本电气元件; |
| 申请人名称 | 深圳市斑点猫信息技术有限公司 |
| 申请人地址 | 广东省深圳市南山区沿山路43号创业壹号大楼A栋107室 |
专利法律状态
2016-08-31
授权
状态信息
授权
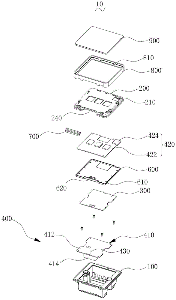
摘要
本实用新型涉及一种开关。该开关包括后壳、前壳、分隔板及电路模组;后壳为具有一开口的壳体;前壳盖设于后壳的开口上,前壳与后壳共同配合形成一收容腔;分隔板收容于收容腔中,且分隔板与后壳固定连接,分隔板将收容腔分隔成第一收容部和第二收容部;电路模组包括电源电路模块和按键电路模块,电源电路模块收容于第一收容部中,按键电路模块收容于第二收容部中,按键电路模块与电源电路模块电连接,且按键电路模块可控制电源电路模块与外接电源之间的电连接。上述开关较为安全。


