授权公布号:CN210507218U
一种免加润滑油的道闸机芯
有效
申请
2019-08-19
申请公布
1970-01-01
授权
2020-05-12
预估到期
2029-08-19
| 申请号 | CN201921340424.7 |
| 申请日 | 2019-08-19 |
| 授权公布号 | CN210507218U |
| 授权公告日 | 2020-05-12 |
| 分类号 | E01F13/06 |
| 分类 | 道路、铁路或桥梁的建筑; |
| 申请人名称 | 深圳市创通智能设备有限公司 |
| 申请人地址 | 广东省深圳市龙华区龙华街道富康社区东环二路69号慧华园厂房1栋4层419 |
专利法律状态
2020-05-12
授权
状态信息
授权
摘要
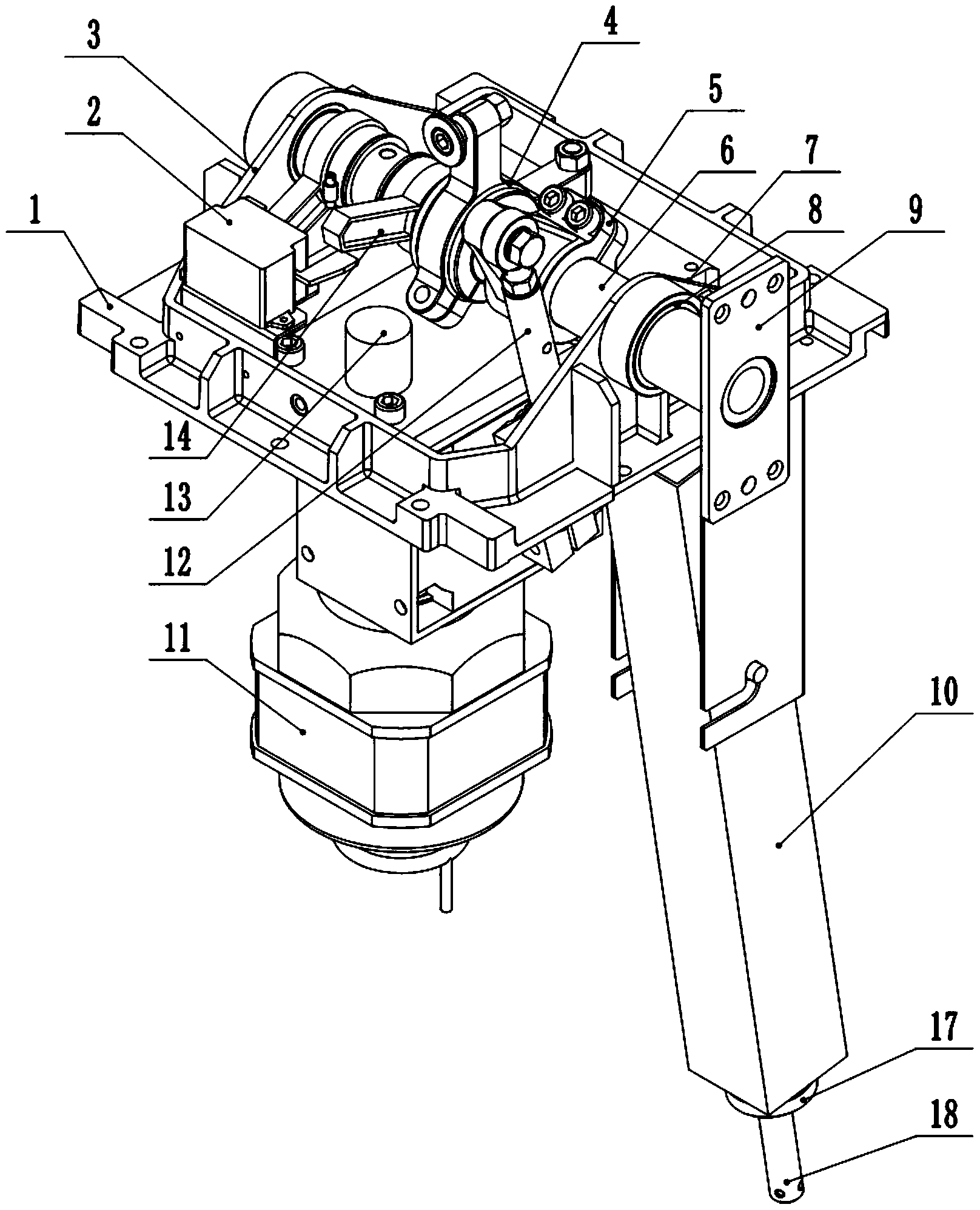
本实用新型公开了一种免加润滑油的道闸机芯,涉及道闸技术领域,解决了现有道闸技术中需要定期为主轴的轴承补充润滑剂的技术问题,本实用新型包括传动底座、与传动底座转动连接的主轴、与主轴固定连接的闸杆座、固定设置在传动底座上的驱动机构以及固定设置在传动底座上的平衡机构;所述底座上固定设置有轴承座一以及轴承座二,轴承座一以及轴承座二上均固定设置有轴承,所述轴承为铜石墨轴承,轴承与主轴间隙配合,主轴上固定设置有限位座,底座上设置有与限位座沿主轴的轴向对齐的减震垫;本实用新型具有结构简单,无需人工补充润滑剂,让道闸能长期正常连续运行的优点。


