授权公布号:CN113437499B
圆极化微带天线以及天线阵列
有效
申请
2021-05-25
申请公布
2021-09-24
授权
2023-03-17
预估到期
2041-05-25
| 申请号 | CN202110570650.X |
| 申请日 | 2021-05-25 |
| 申请公布号 | CN113437499A |
| 申请公布日 | 2021-09-24 |
| 授权公布号 | CN113437499B |
| 授权公告日 | 2023-03-17 |
| 分类号 | H01Q1/38;H01Q1/48;H01Q1/50;H01Q21/00;H01Q21/20;H01Q21/06 |
| 分类 | 基本电气元件; |
| 申请人名称 | 北京千方科技股份有限公司 |
| 申请人地址 | 北京市海淀区东北旺西路8号中关村软件园一期27号楼B座501室 |
专利法律状态
2023-03-17
授权
状态信息
授权
2021-09-24
公布
状态信息
公布
摘要
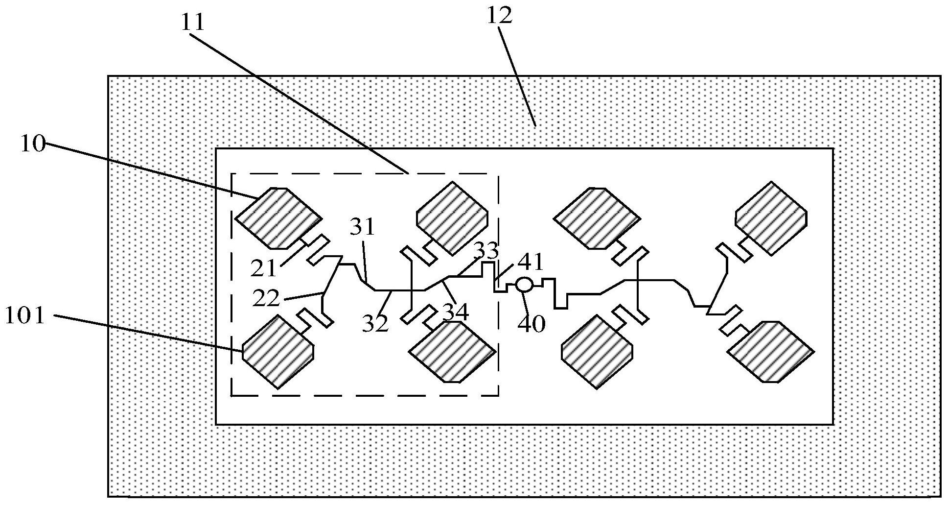
本发明涉及一种圆极化微带天线,包括:绝缘层、设置在绝缘层一面的金属接地层以及设置在绝缘层另一面的金属辐射阵子和用于为金属辐射阵子馈电的馈电网络,金属辐射阵子包括4N个金属贴片,每4个金属贴片组成一个基本小阵,基本小阵的4个金属贴片的中心排布在同一圆周上,馈电网络包括与金属贴片一一对应的微带线,各微带线的一端与对应的金属贴片相连,另一端连接阻抗变换器,阻抗变换器连接天线阵端口;通过微带线相位延迟来补偿金属贴片空间旋转产生的相位差;利用阻抗变换器使射频信号能量分成不同大小,按照顺时针或者逆时针的方向依次传输到个金属贴片。本申请提供了一种低旁瓣、窄波束、高增益、体积小、轴比带宽大的微带天线。


