授权公布号:CN218540509U
具有保护转轴结构的通道闸
有效
申请
2022-07-18
申请公布
1970-01-01
授权
2023-02-28
预估到期
2032-07-18
| 申请号 | CN202221852504.2 |
| 申请日 | 2022-07-18 |
| 授权公布号 | CN218540509U |
| 授权公告日 | 2023-02-28 |
| 分类号 | E01F13/04 |
| 分类 | 道路、铁路或桥梁的建筑; |
| 申请人名称 | 深圳市博思高科技有限公司 |
| 申请人地址 | 广东省深圳市光明新区光明街道白花社区第二工业区百艺盛科技大厦一层南面、八层、九层 |
专利法律状态
2023-02-28
授权
状态信息
授权
摘要
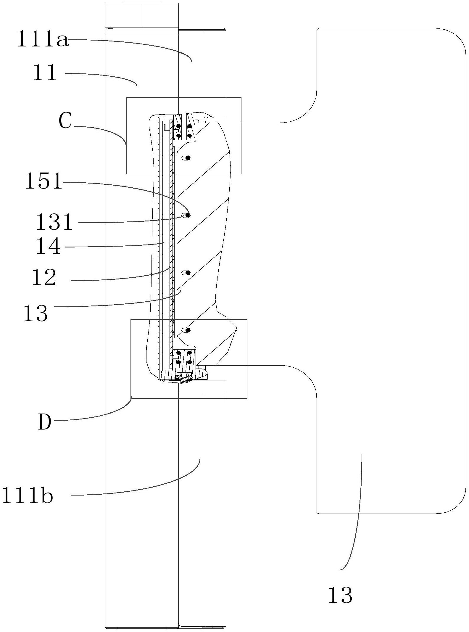
本实用新型提供一种具有保护转轴结构的通道闸,其包括机箱、安装板、闸板以及包管;其中机箱一侧设置有转动座;安装板竖直固定在转动座上;闸板一端与安装板连接;包管为中空结构,包管套设在安装板外圈,且包管侧壁设置有包管开口,闸板贯穿包管开口并向外延伸。本实用新型的具有保护转轴结构的通道闸,其通过包管将安装板带动闸机与机箱侧边的转动座连接,且包管将安装板与闸机的连接处进行收容,包管侧壁设置有包管开口,闸板贯穿包管开口并向外延伸;此结构避免安装板与闸板的连接处裸露在外,从而防护其连接结构,延长闸机结构的使用寿命,且闸机整体结构更为流畅、美观。


