授权公布号:CN218643267U
一种升降柱
有效
申请
2022-10-31
申请公布
1970-01-01
授权
2023-03-17
预估到期
2032-10-31
| 申请号 | CN202222872957.8 |
| 申请日 | 2022-10-31 |
| 授权公布号 | CN218643267U |
| 授权公告日 | 2023-03-17 |
| 分类号 | E01F13/04 |
| 分类 | 道路、铁路或桥梁的建筑; |
| 申请人名称 | 红门智能科技股份有限公司 |
| 申请人地址 | 广东省深圳市龙岗区布吉下水径华路红门工业园1栋4楼 |
专利法律状态
2023-03-17
授权
状态信息
授权
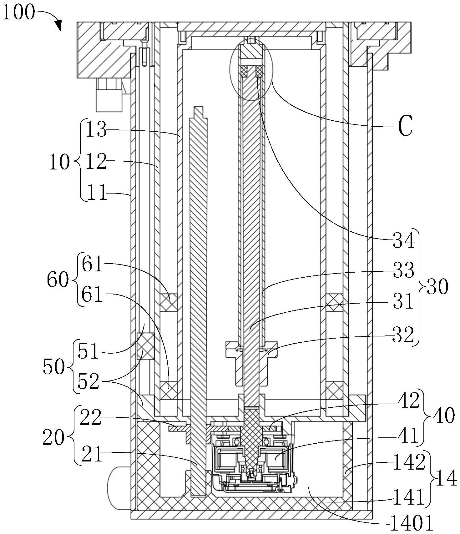
摘要
本实用新型涉及路障设备技术领域,公开了一种升降柱,升降柱包括筒体组件、第一传动机构、第二传动机构和驱动机构。筒体组件包括依次滑动连接的第一筒体、第二筒体和第三筒体。第一传动机构包括固定支撑于第一筒体的第一螺杆,以及与第一螺杆螺纹连接的齿轮螺母,且齿轮螺母与第二筒体连接。第二传动机构包括与第二筒体转动连接的第二螺杆,以及与第二螺杆螺纹连接的连接螺母,且连接螺母与第三筒体连接,第一螺杆和第二螺杆平行且相互错开。驱动机构安装于第二筒体,驱动机构与齿轮螺母和第二螺杆连接,并能够驱动齿轮螺母和第二螺杆分别转动。通过以上设置,降低升降柱下降到位后的整体高度,减少安装时的开挖深度,且升降柱能够快速升降到位。


