授权公布号:CN216517169U
一种车辆用旋转举升装置
有效
申请
2021-11-25
申请公布
1970-01-01
授权
2022-05-13
预估到期
2031-11-25
| 申请号 | CN202122911237.3 |
| 申请日 | 2021-11-25 |
| 授权公布号 | CN216517169U |
| 授权公告日 | 2022-05-13 |
| 分类号 | E04H6/28 |
| 分类 | 建筑物; |
| 申请人名称 | 唐山通宝停车设备有限公司 |
| 申请人地址 | 河北省唐山市丰润区公园道162号 |
专利法律状态
2022-05-13
授权
状态信息
授权
摘要
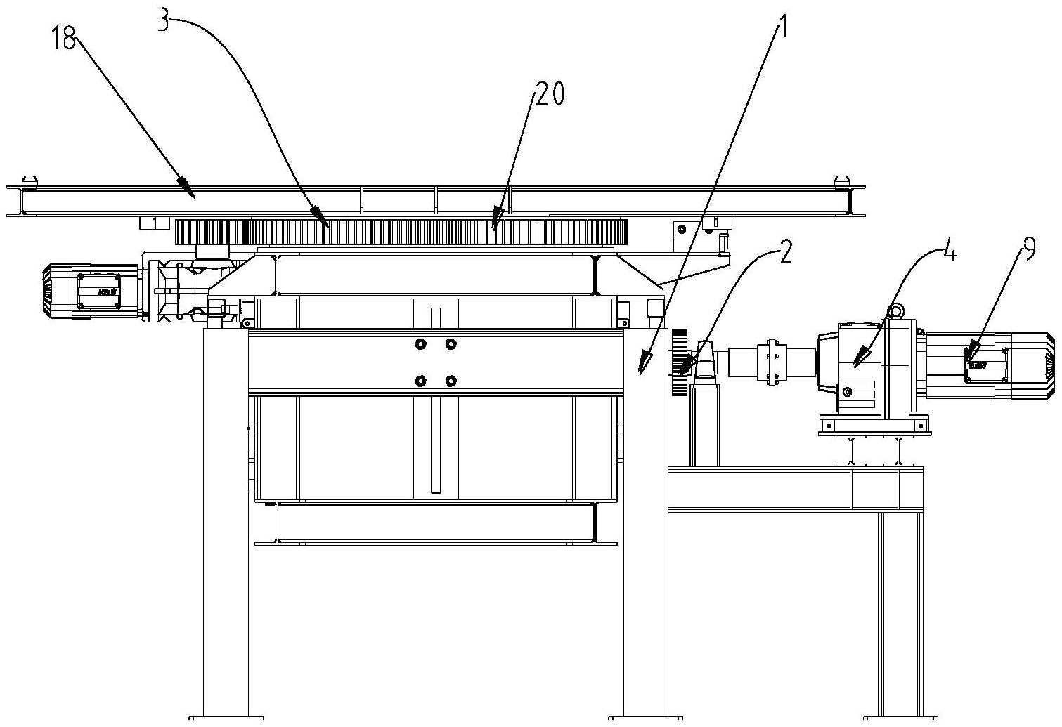
本实用新型涉及车辆举升技术领域,提出了一种车辆用旋转举升装置,包括机架、设置在机架上的车位提升装置以及设置在车位提升装置上的车位旋转装置,车位旋转装置上方用于承托车辆,车位提升装置包括设置在机架上的驱动机构,驱动机构驱动第一齿轮和第二齿轮相对转动设置在机架上,第一齿板和第二齿板均设置在车位旋转装置上,第一齿板和第二齿板分别与第一齿轮和第二齿轮啮合,第一齿轮和第二齿轮转动后,驱动第一齿板和第二齿板同方向升降。通过上述技术方案,解决了相关技术中车辆用旋转举升装置举升动作不平稳的问题。


