授权公布号:CN219366839U
流量调节阀和灌装系统
有效
申请
2023-01-04
申请公布
1970-01-01
授权
2023-07-18
预估到期
2033-01-04
| 申请号 | CN202320013992.6 |
| 申请日 | 2023-01-04 |
| 授权公布号 | CN219366839U |
| 授权公告日 | 2023-07-18 |
| 分类号 | F16K1/36;F16K1/46;F16K1/54;B65B3/04 |
| 分类 | 工程元件或部件;为产生和保持机器或设备的有效运行的一般措施;一般绝热; |
| 申请人名称 | 康美包(苏州)有限公司 |
| 申请人地址 | 江苏省苏州市工业园区星龙街399号 |
专利法律状态
2023-07-18
授权
状态信息
授权
摘要
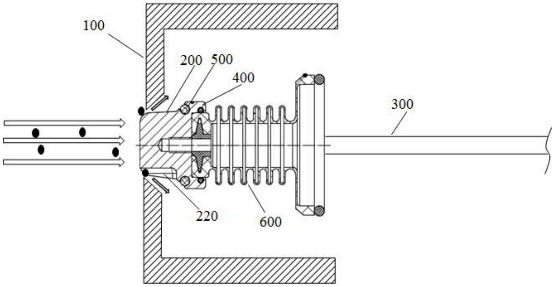
一种流量调节阀和灌装系统,流量调节阀包括:阀座,所述阀座具有开口;阀头和与所述阀头连接的驱动轴,在所述驱动轴的驱动下所述阀头相对于所述阀座运动以远离或者靠近所述开口。所述阀头具有自所述阀头的周向表面凹陷的导流槽,所述导流槽沿其延伸方向具有第一端和比所述第一端远离所述驱动轴的第二端。


