授权公布号:CN109203725B
带打印头保护装置的喷墨打印机
有效
申请
2017-07-05
申请公布
2019-01-15
授权
2023-08-04
预估到期
2037-07-05
| 申请号 | CN201710540876.9 |
| 申请日 | 2017-07-05 |
| 申请公布号 | CN109203725A |
| 申请公布日 | 2019-01-15 |
| 授权公布号 | CN109203725B |
| 授权公告日 | 2023-08-04 |
| 分类号 | B41J3/407;B41J11/00 |
| 分类 | 印刷;排版机;打字机;模印机〔4〕; |
| 申请人名称 | 康美包(苏州)有限公司 |
| 申请人地址 | 江苏省苏州市工业园区星龙街399号 |
专利法律状态
2023-08-04
授权
状态信息
授权
2019-02-12
实质审查的生效
状态信息
实质审查的生效;IPC(主分类):B41J3/407;申请日:20170705
2019-01-15
公布
状态信息
公布
摘要
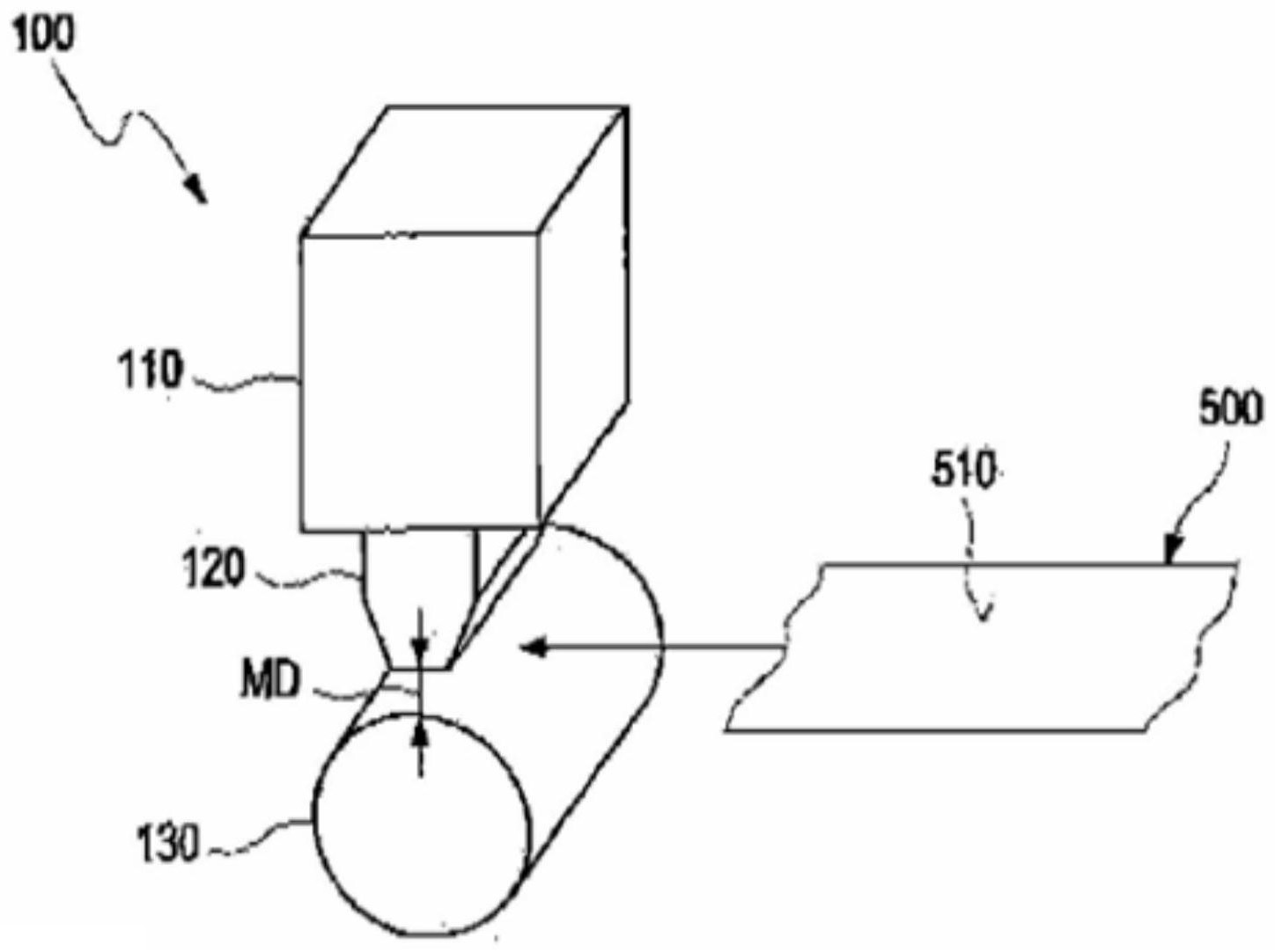
本发明涉及一种用于在目标表面上印刷图案的打印设备,其中打印设备至少包括具有至少一个打印头和一个支撑件的喷墨打印单元,其中支撑件限定目标相对于打印头的位置,其中支撑件和打印头之间的最小距离可通过支撑件的移动而变化。本发明还涉及通过使用上述打印设备,在目标表面上印刷图案的一个方法。


