授权公布号:CN216187585U
一种防伪包装盒
有效
申请
2021-11-11
申请公布
1970-01-01
授权
2022-04-05
预估到期
2031-11-11
| 申请号 | CN202122760181.6 |
| 申请日 | 2021-11-11 |
| 授权公布号 | CN216187585U |
| 授权公告日 | 2022-04-05 |
| 分类号 | B65D55/02 |
| 分类 | 输送;包装;贮存;搬运薄的或细丝状材料; |
| 申请人名称 | 四川省宜宾普拉斯包装材料有限公司 |
| 申请人地址 | 四川省宜宾市临港经开区长江北段西段附三段17号 |
专利法律状态
2022-04-05
授权
状态信息
授权
摘要
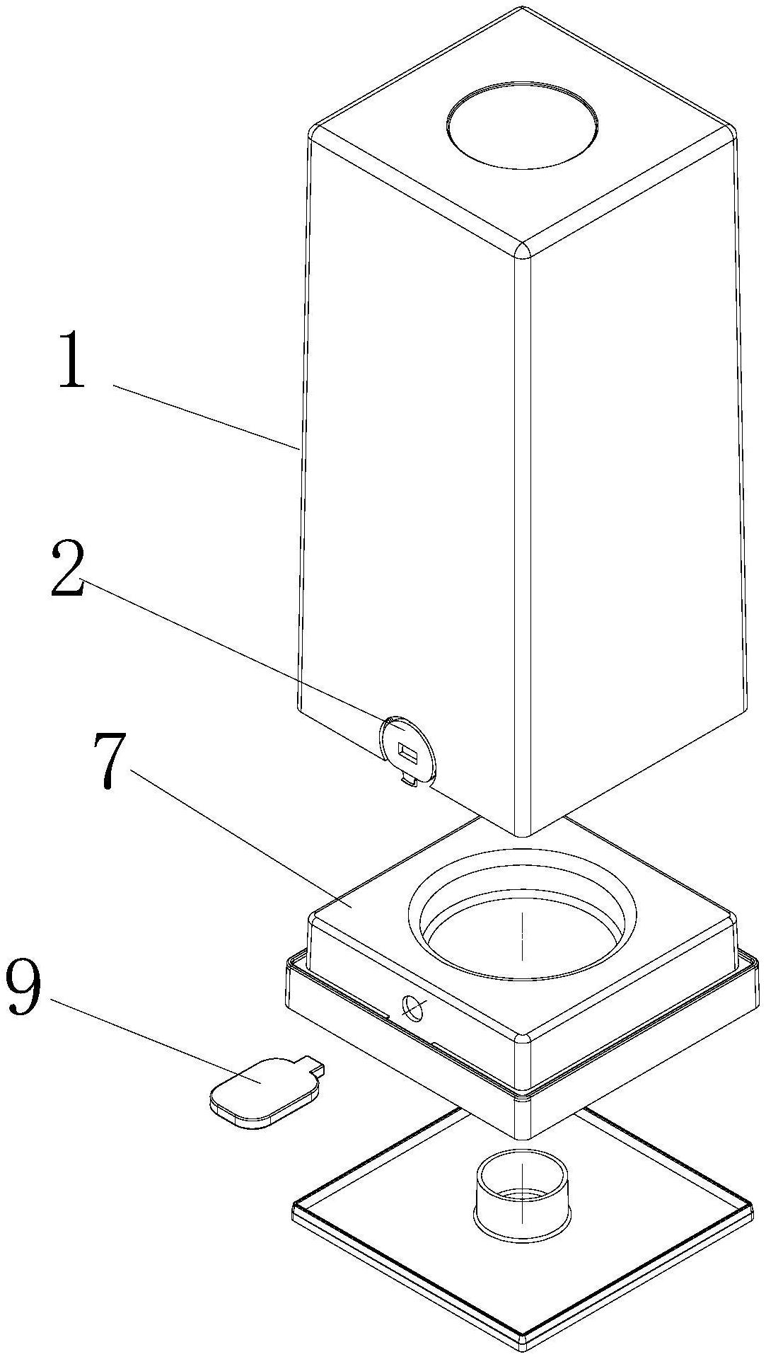
本实用新型涉及包装盒技术领域,具体涉及一种防伪包装盒,包括盒体,所述盒体一侧设置有防伪块,所述防伪块与所述盒体之间设置有活动腔,所述防伪块中部设置有防伪口,所述防伪块上部设置有撕裂点,所述防伪块下部设置有卡扣,所述盒体下方设置有底座,所述底座上设置有与所述卡扣相对应的卡孔。通过设置撕裂点,便于盒体从撕裂点与防伪块分离,提高盒体开启的便捷性。


