授权公布号:CN216139698U
一种用于证书打印机的翻页机构
有效
申请
2021-08-24
申请公布
1970-01-01
授权
2022-03-29
预估到期
2031-08-24
| 申请号 | CN202121996442.8 |
| 申请日 | 2021-08-24 |
| 授权公布号 | CN216139698U |
| 授权公告日 | 2022-03-29 |
| 分类号 | B41J3/00;B41J11/00 |
| 分类 | 印刷;排版机;打字机;模印机〔4〕; |
| 申请人名称 | 鸿博股份有限公司 |
| 申请人地址 | 福建省福州市金山开发区金达路136号 |
专利法律状态
2022-03-29
授权
状态信息
授权
摘要
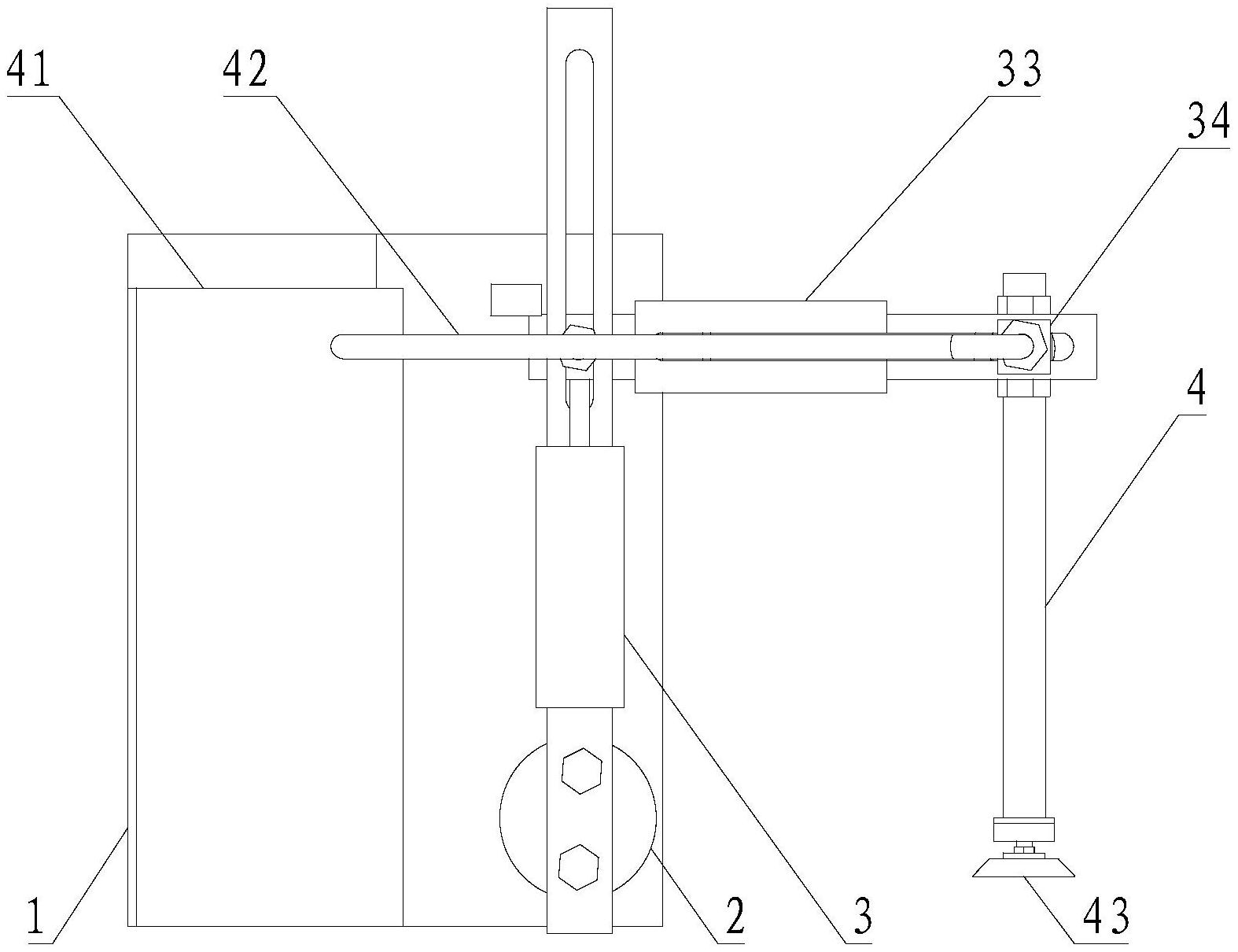
本实用新型涉及证书打印机设备,尤其涉及一种用于证书打印机的翻页机构,包括机架、翻转组件、调节组件和抬页组件;所述翻转组件包括翻转电机和翻转臂,所述翻转电机设置在所述机架上,所述翻转电机的输出轴与所述翻转臂的一端连接,所述翻转臂沿垂直于所述翻转电机的输出轴的方向设有第一调节孔;所述调节组件包括第一调节气缸、第一调节支架、第二调节气缸和第二调节支架,所述第一调节支架沿平行于所述翻转电机的输出轴的方向设有第二调节孔。本实用新型提供的用于证书打印机的翻页机构能够使翻页机构可应用的证书规格种类更多更广,提高翻页机构的通用性,降低翻页误差。


