授权公布号:CN212827459U
一种便捷包装打印机
有效
申请
2020-06-28
申请公布
1970-01-01
授权
2021-03-30
预估到期
2030-06-28
| 申请号 | CN202021209890.4 |
| 申请日 | 2020-06-28 |
| 授权公布号 | CN212827459U |
| 授权公告日 | 2021-03-30 |
| 分类号 | B41J11/00;B41J2/01 |
| 分类 | 印刷;排版机;打字机;模印机〔4〕; |
| 申请人名称 | 鸿博股份有限公司 |
| 申请人地址 | 福建省福州市金山开发区金达路136号 |
专利法律状态
2021-03-30
授权
状态信息
授权
摘要
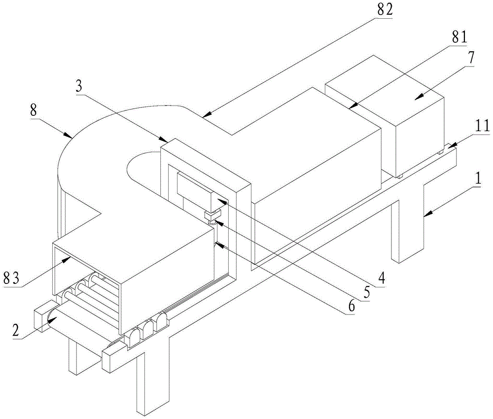
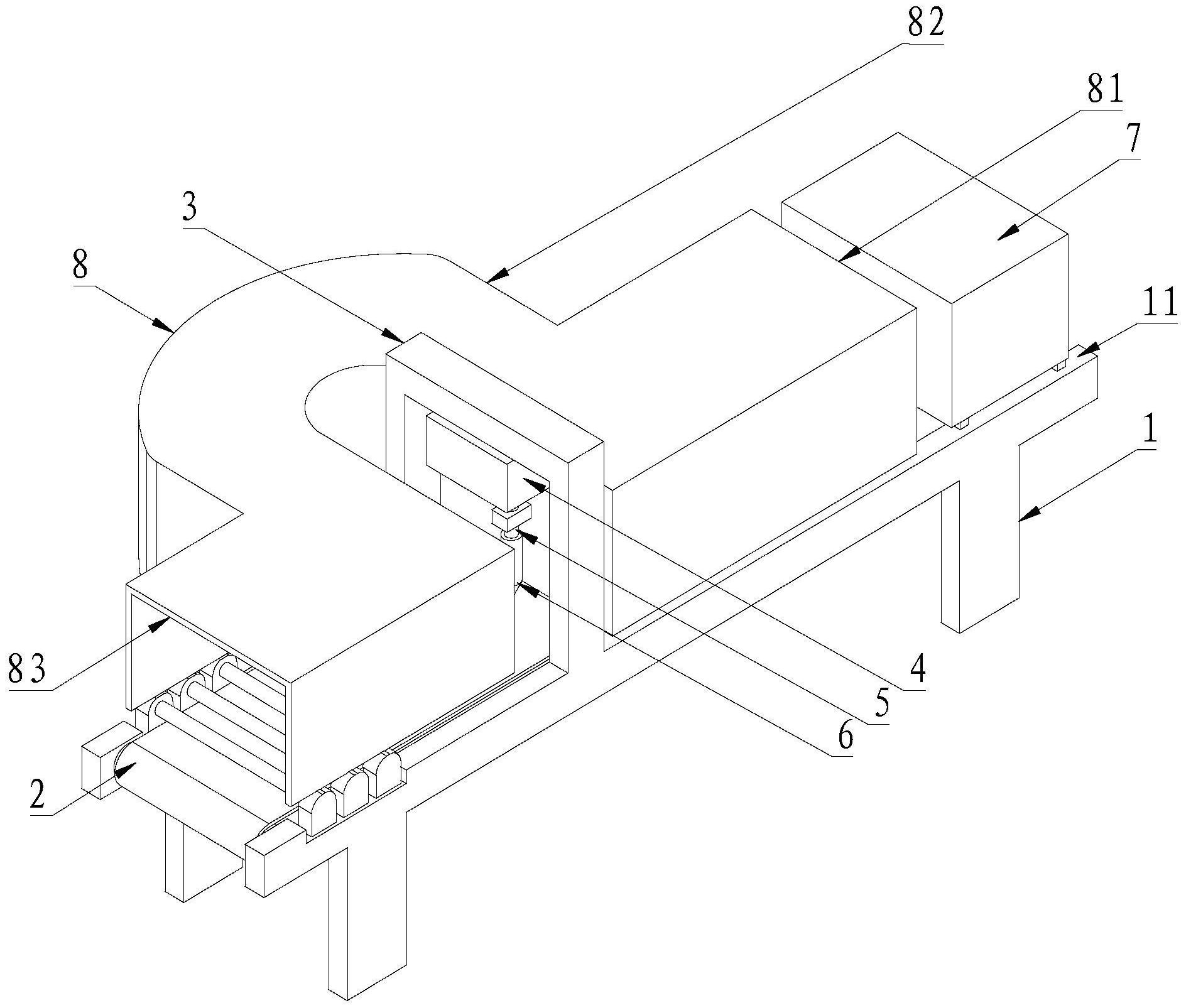
本实用新型涉及印刷设备技术领域,尤其涉及一种便捷包装打印机,包括机架、传送带、龙门架、彩印机主体、导管、油墨喷头、热风机和热风管道;所述热风机设置在水平工作台上并且位于彩印机主体沿第一水平方向的一侧;所述热风管道包括分别设置在水平工作台上的第一风道、第二风道和第三风道,所述热风机、第一风道、第二风道和第三风道依次连接,所述第一风道和第三风道均罩设在传送带上。本实用新型提供的便捷包装打印机集成了预热、印刷以及烘干三道工序,相较于传统的烘干结构提高了生产效率,同时利用了烘干作业的余热对待印刷产品进行预热,节省了成本。


