授权公布号:CN218365055U
卷票分切机用裁边收集装置
有效
申请
2022-08-09
申请公布
1970-01-01
授权
2023-01-24
预估到期
2032-08-09
| 申请号 | CN202222088418.5 |
| 申请日 | 2022-08-09 |
| 授权公布号 | CN218365055U |
| 授权公告日 | 2023-01-24 |
| 分类号 | B26D7/00;B26D7/18 |
| 分类 | 手动切割工具;切割;切断; |
| 申请人名称 | 鸿博股份有限公司 |
| 申请人地址 | 福建省福州市金山开发区金达路136号 |
专利法律状态
2023-01-24
授权
状态信息
授权
摘要
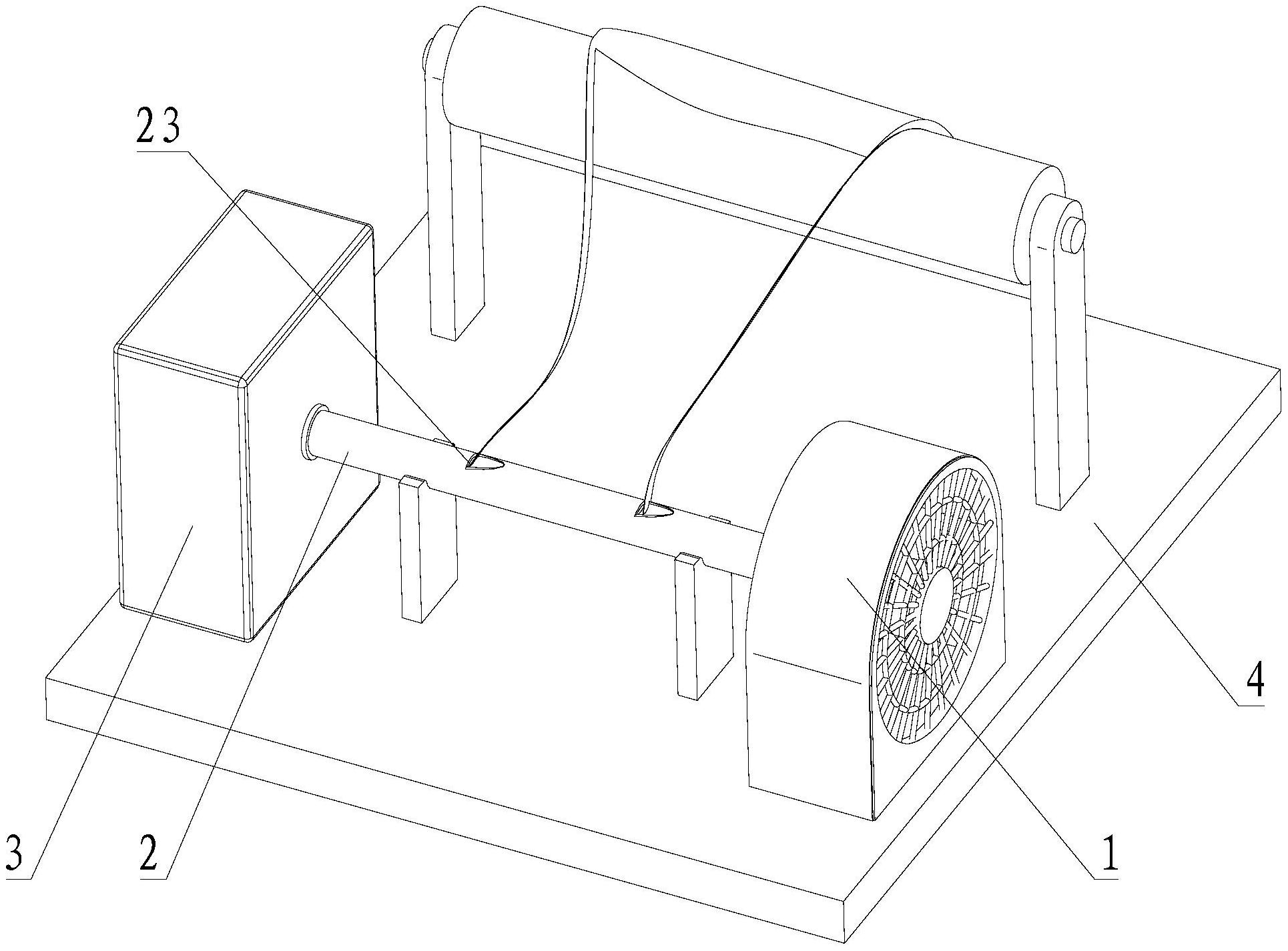
本实用新型涉及卷票分切机领域,尤其涉及卷票分切机用裁边收集装置,包括风机和管道;所述管道的内部中空,所述管道设有进口和出口,所述管道的进口与风机连接,所述管道的外壁朝向出口的方向设有贯通至内腔的裁边收集坡口。本实用新型提供的卷票分切机用裁边收集装置解决裁边纸张难以从裁边收集坡口吸入或在吸入后又被气流吹出的问题,提高了裁边纸张的收集率。


