授权公布号:CN217622760U
用于轮转印刷机的烘干装置
有效
申请
2022-05-12
申请公布
1970-01-01
授权
2022-10-21
预估到期
2032-05-12
| 申请号 | CN202221137533.0 |
| 申请日 | 2022-05-12 |
| 授权公布号 | CN217622760U |
| 授权公告日 | 2022-10-21 |
| 分类号 | B41F23/04 |
| 分类 | 印刷;排版机;打字机;模印机〔4〕; |
| 申请人名称 | 鸿博股份有限公司 |
| 申请人地址 | 福建省福州市金山开发区金达路136号 |
专利法律状态
2022-10-21
授权
状态信息
授权
摘要
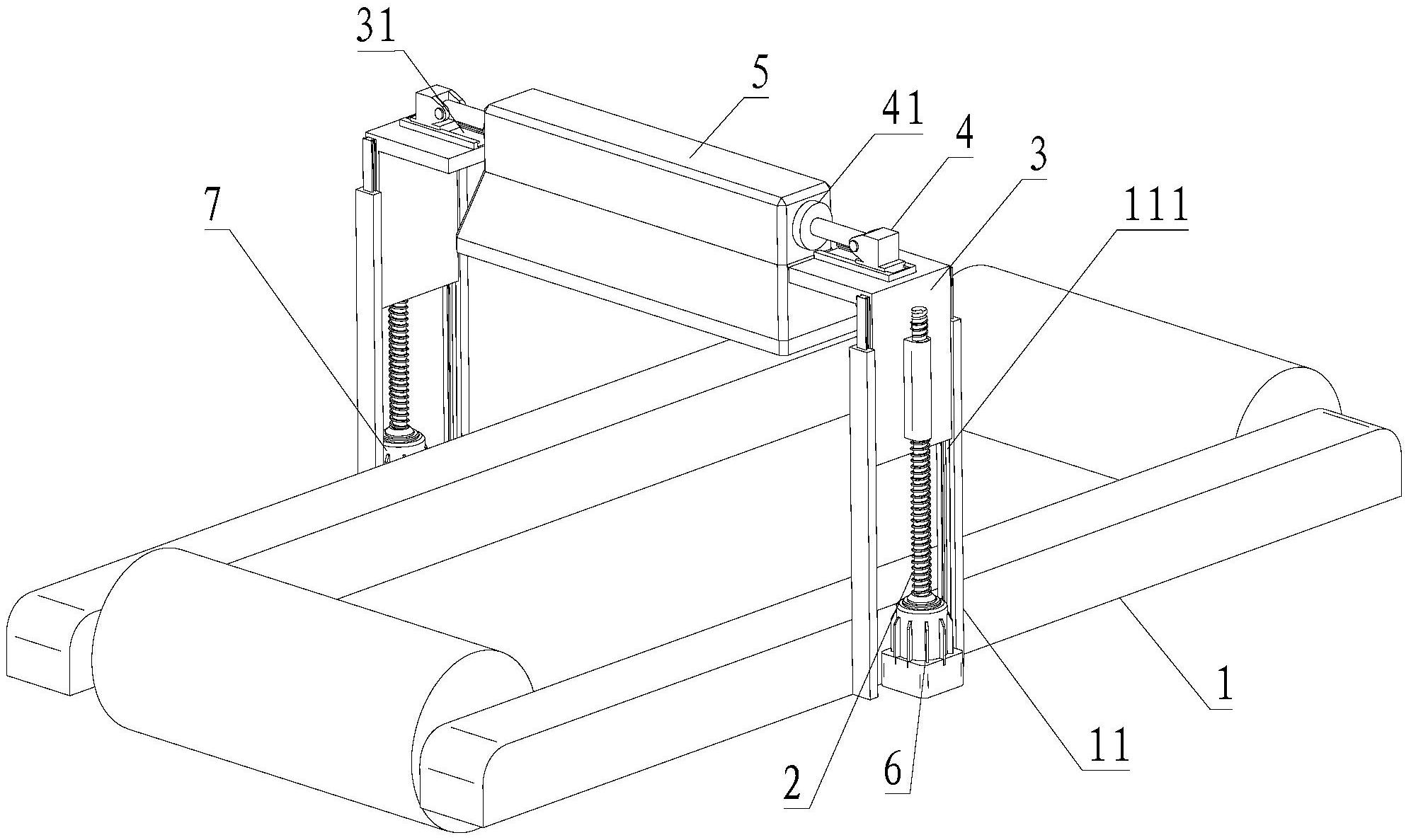
本实用新型涉及轮转印刷机技术领域,尤其涉及用于轮转印刷机的烘干装置,包括输送台、螺杆、支座、支架和烘干组件;两组所述螺杆均转动竖立在输送台上;每组所述螺杆均与一组支座螺纹配合,所述支座沿竖直方向滑动设置在输送台上,所述支架的两端分别与一组支座滑动连接,所述烘干组件设置在所述支架上。本实用新型提供的用于轮转印刷机的烘干装置,能够根据不同印刷产品的规格调节不同的烘干高度和烘干角度。


