授权公布号:CN217217746U
一种山坡地绿化润灌结构
有效
申请
2022-04-21
申请公布
1970-01-01
授权
2022-08-19
预估到期
2032-04-21
| 申请号 | CN202220973681.X |
| 申请日 | 2022-04-21 |
| 授权公布号 | CN217217746U |
| 授权公告日 | 2022-08-19 |
| 分类号 | A01G29/00;E03B3/02;E03F5/10;B01D29/03;B01D35/027 |
| 分类 | 农业;林业;畜牧业;狩猎;诱捕;捕鱼; |
| 申请人名称 | 棕榈生态城镇发展股份有限公司 |
| 申请人地址 | 河南省郑州市郑东新区俊贤路38号 |
专利法律状态
2022-08-19
授权
状态信息
授权
摘要
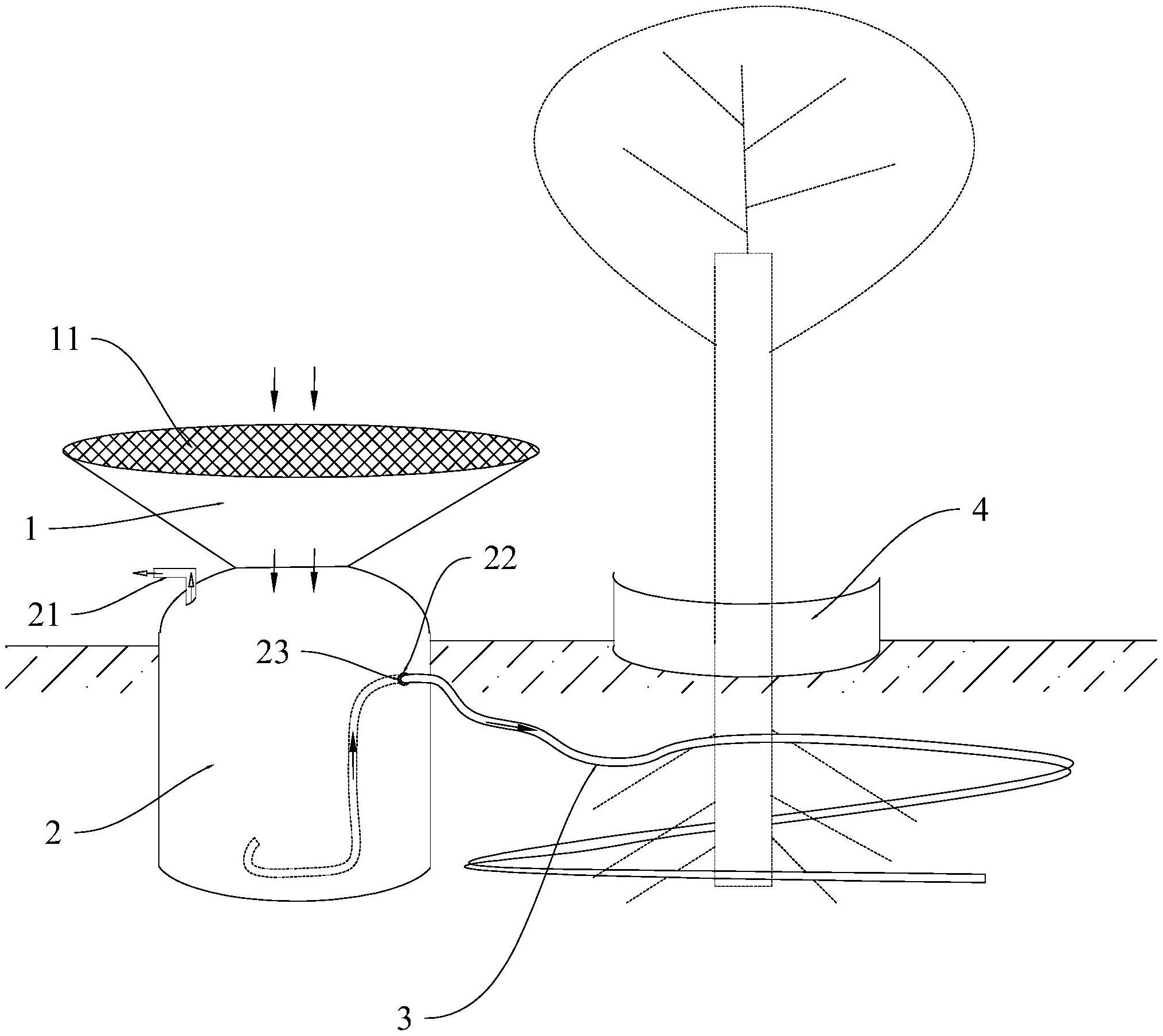
本实用新型公开了一种山坡地绿化润灌结构,包括能用于收集雨水的收集漏斗,所述收集漏斗下方设有与其连通的储水罐,所述储水罐内设有吸水绳,且所述吸水绳的一端从储水罐的上部或中部穿过其罐壁而伸到储水罐内腔的底部,所述吸水绳的另一端围绕植株根部布置且埋于土中。本实用新型具有结构简单、成本低廉、灌溉效率高且节约水资源的优点。


