授权公布号:CN115428668B
一种用于绿色建筑屋顶的模块式组合花箱
有效
申请
2022-08-17
申请公布
2022-12-06
授权
2023-04-07
预估到期
2042-08-17
| 申请号 | CN202210984174.0 |
| 申请日 | 2022-08-17 |
| 申请公布号 | CN115428668A |
| 申请公布日 | 2022-12-06 |
| 授权公布号 | CN115428668B |
| 授权公告日 | 2023-04-07 |
| 分类号 | A01G9/033;A01G9/02;A01G27/00;B01D29/03;E03B3/02;E03B5/00;E03B11/00;E04D13/00;H02S20/32 |
| 分类 | 农业;林业;畜牧业;狩猎;诱捕;捕鱼; |
| 申请人名称 | 浙江滕头园林股份有限公司 |
| 申请人地址 | 浙江省宁波市奉化区萧王庙街道滕头村1幢3楼 |
专利法律状态
2023-04-07
授权
状态信息
授权
2022-12-06
公布
状态信息
公布
摘要
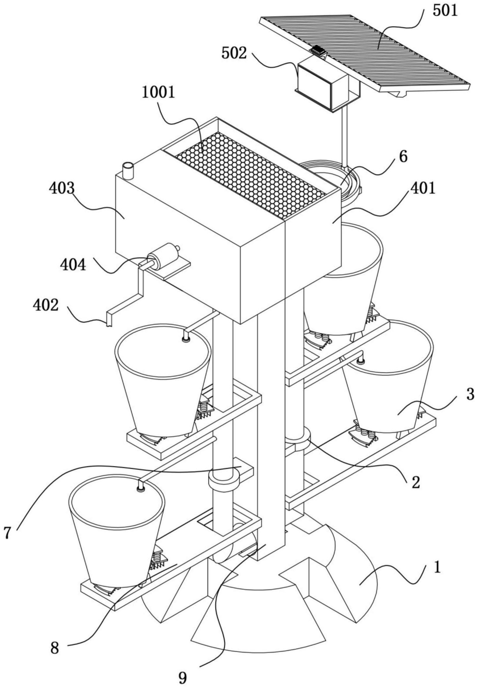
本发明属于组合花箱技术领域,尤其是一种用于绿色建筑屋顶的模块式组合花箱,现提出以下方案,包括放置座和多个花箱框体,所述放置座的顶部固定连接有立柱,且立柱的顶端设有浇灌组件,浇灌组件包括集水框、储水箱和U型导管,所述U型导管的外侧固定连接有两个固定环。本发明通过设置有限位夹持组件,在将盆花放置于花箱框体时,盆花的重力对限位贴合弧板进行挤压,使得限位贴合弧板后方的挤压弹簧被压缩,则挤压弹簧的反作用力带动限位贴合弧板对盆花进行挤压,实现盆花的限位夹持,该种夹持方式快捷牢固,各个限位贴合弧板上的摩擦板进一步增加盆花限位夹持后的牢固性。


