授权公布号:CN207443671U
一种自动调温调湿的玫瑰无土栽培大棚
有效
申请
2017-11-26
申请公布
1970-01-01
授权
2018-06-05
预估到期
2027-11-26
| 申请号 | CN201721596507.3 |
| 申请日 | 2017-11-26 |
| 授权公布号 | CN207443671U |
| 授权公告日 | 2018-06-05 |
| 分类号 | A01G9/14;A01G9/24 |
| 分类 | 农业;林业;畜牧业;狩猎;诱捕;捕鱼; |
| 申请人名称 | 通海锦海农业科技发展有限公司 |
| 申请人地址 | 云南省玉溪市通海县河西镇河西村文明路 |
专利法律状态
2024-01-05
专利权质押合同登记的生效、变更及注销
状态信息
专利权质押合同登记的生效;IPC(主分类):A01G9/14;专利号:ZL2017215965073;登记号:Y2023980072852;登记生效日:20231220;出质人:通海锦海农业科技发展有限公司;质权人:中国邮政储蓄银行股份有限公司通海县支行;实用新型名称:一种自动调温调湿的玫瑰无土栽培大棚;申请日:20171126;授权公告日:20180605
2018-06-05
授权
状态信息
授权
摘要
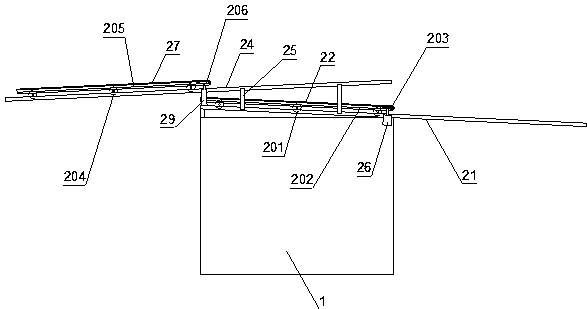
本实用新型公开了一种自动调温调湿的玫瑰无土栽培大棚,包括棚壁、棚顶、温度传感器、湿度传感器、光照强度传感器和升温装置,棚顶包括上棚顶和下棚顶,下棚顶包括两根下滑轨,两根下滑轨上安装有下框架,下框架中安装有下透明膜,下框架的一端连接有下驱动电机;上棚顶包括两根上滑轨,两上滑轨上安装有上框架,上框架中安装有上透明膜,上框架的一端连接有上驱动电机;栽培腔内设置有控制器,温度传感器、湿度传感器、光照强度传感器、升温装置、下驱动电机和上驱动电机均与控制器相连。各种检测元件实时监测温度、湿度和光照强度,控制器能够自动地对温度、湿度和光照强度进行调整,降低人工操作强度,调整更加准确、及时。


