授权公布号:CN205865330U
多功能育苗大棚
有效
申请
2016-07-28
申请公布
1970-01-01
授权
2017-01-11
预估到期
2026-07-28
| 申请号 | CN201620799616.4 |
| 申请日 | 2016-07-28 |
| 授权公布号 | CN205865330U |
| 授权公告日 | 2017-01-11 |
| 分类号 | A01G9/14;A01G7/04;A01G9/24 |
| 分类 | 农业;林业;畜牧业;狩猎;诱捕;捕鱼; |
| 申请人名称 | 通海锦海农业科技发展有限公司 |
| 申请人地址 | 云南省玉溪市通海县河西镇河西村文明路 |
专利法律状态
2017-01-11
授权
状态信息
授权
摘要
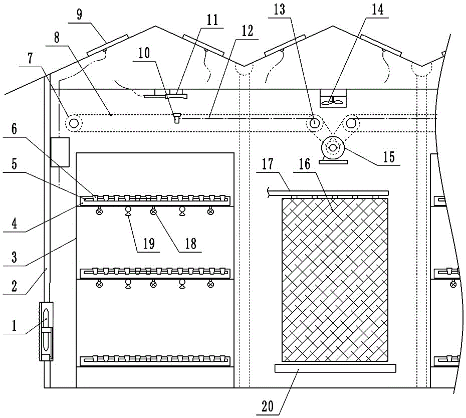
多功能育苗大棚,在大棚棚顶上安装有多组太阳能光伏板,在每个苗床架上设计有多层漂浮盘架,漂浮盘架内铺设有存水膜,存水膜内装育苗水,在育苗水上放置有泡沫孔板,在泡沫孔板上摆放幼苗基质袋,在每层漂浮盘架的正上方安装有雾化喷头和补光灯;在大棚框架的侧面,安装有加湿水帘和排风机,加湿水帘上端安装供水管,下端安装循环水槽。由于在大棚顶上用光伏板蓄电,确保幼苗在白天和夜间,都得到充足的光照;在大棚内还安装有保温灯,确保大棚内温度适合幼苗生长;在该立体苗床大棚的侧面,还设计有加湿水帘,可以准确控制大棚内的空气湿度;在大棚的侧面安装排风机,可确保大棚内空气流通性较好,适宜幼苗生长。


