授权公布号:CN217217765U
一种设置有光照控制装置的组培架
有效
申请
2021-12-22
申请公布
1970-01-01
授权
2022-08-19
预估到期
2031-12-22
| 申请号 | CN202123253439.X |
| 申请日 | 2021-12-22 |
| 授权公布号 | CN217217765U |
| 授权公告日 | 2022-08-19 |
| 分类号 | A01H4/00;A01G7/04 |
| 分类 | 农业;林业;畜牧业;狩猎;诱捕;捕鱼; |
| 申请人名称 | 通海锦海农业科技发展有限公司 |
| 申请人地址 | 云南省玉溪市通海县河西镇河西村贾梨园 |
专利法律状态
2022-08-19
授权
状态信息
授权
摘要
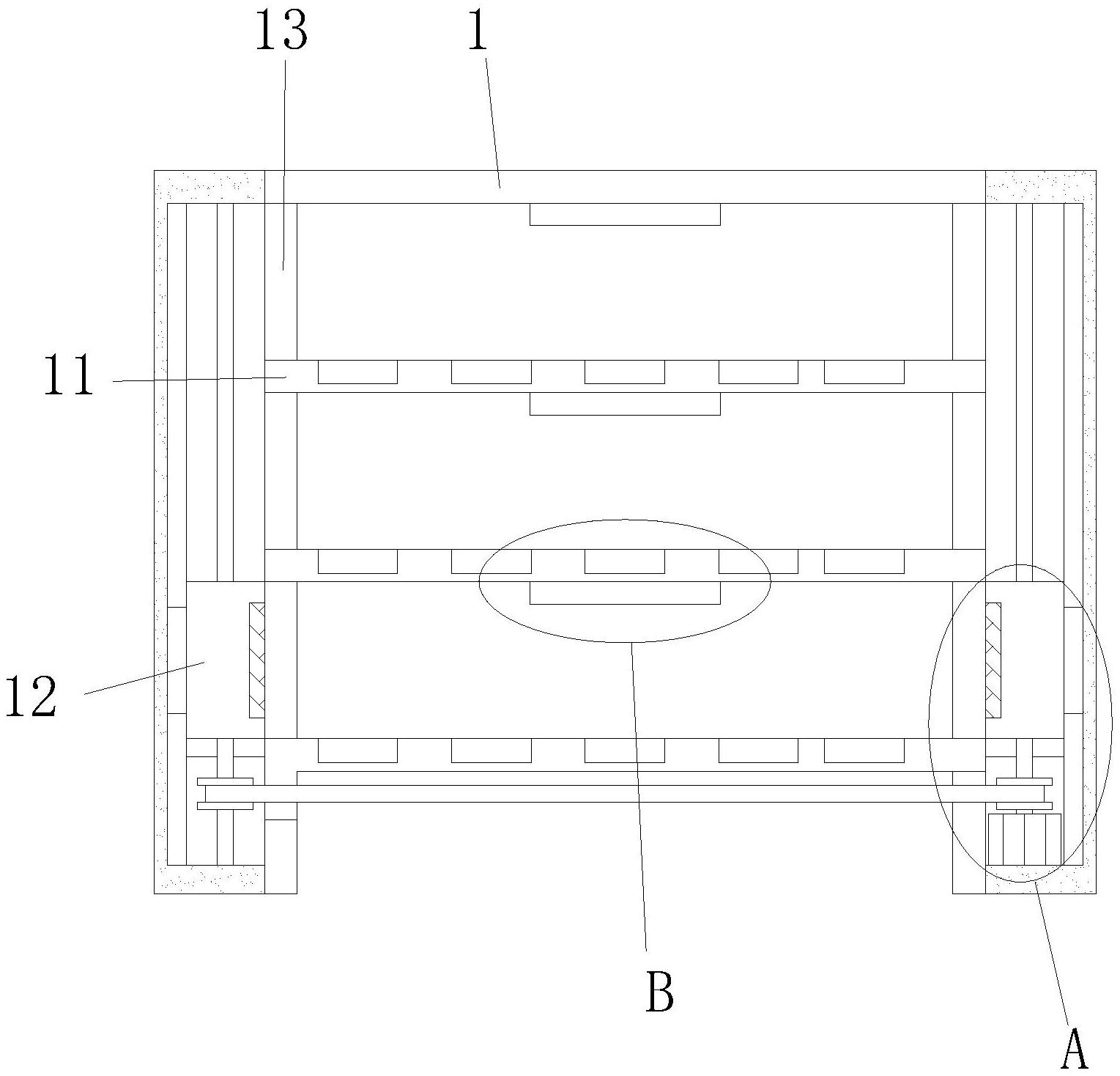
本实用新型提供了一种设置有光照控制装置的组培架,包括架体,架体包括隔板和光照装置,隔板平行设置于架体内部,架体靠近隔板的两侧内壁对称设有方形通孔,架体靠近方形通孔的两侧外壁设有光照装置,光照装置包括壳体,壳体分别固定连接架体外壁,壳体内部分别对称设有丝杆,丝杆活动连接壳体顶面,丝杆外表面通过螺母穿插连接有活动块,活动块靠近方形通孔的一侧外壁设有发光灯板,且两个丝杆外壁下方通过皮带相互转动连接,其中一个丝杆的底端活动连接壳体底面内壁,另一个丝杆的底端设有电机,电机固定连接壳体底面内壁,本实用新型可以对植物进行充足且均匀的光照,从而提高了组培植物的成活率。


