授权公布号:CN203996976U
花苗栽培基质装袋机
有效
申请
2014-08-13
申请公布
1970-01-01
授权
2014-12-10
预估到期
2024-08-13
| 申请号 | CN201420454945.6 |
| 申请日 | 2014-08-13 |
| 授权公布号 | CN203996976U |
| 授权公告日 | 2014-12-10 |
| 分类号 | B65B9/207 |
| 分类 | 输送;包装;贮存;搬运薄的或细丝状材料; |
| 申请人名称 | 通海锦海农业科技发展有限公司 |
| 申请人地址 | 云南省玉溪市通海县河西镇河西村文明路 |
专利法律状态
2014-12-10
授权
状态信息
授权
摘要
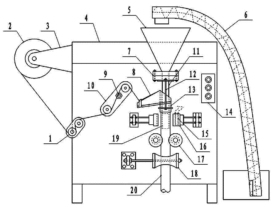
花苗栽培基质装袋机,其机箱一侧安装有膜卷的放卷架,在机箱的正面安装有薄膜的导辊、摆动导膜架和培栽基质的进料斗,进料斗的下料管安装在固定座上,固定座下固定安装膜带卷圆器,膜带卷圆器的卷膜筒下方两侧安装膜袋搭边烫接夹,在烫接夹下方安装有基质袋的纵辊和横辊,进料斗的下料管穿过膜带卷圆器的卷膜筒,下料管的出料口向下延伸到烫接夹的下方;在进料斗的上侧,安装有一架螺旋上料管;下料管的下段为陶瓷材料制成的陶瓷管。由于摆动导膜架的摆动作用,薄膜从放卷架上定长放出;根据花苗栽培基质流动性好的特点,基质自动流入卷烫成圆筒的基质袋中,依靠袋内基质自身重力拉动膜筒向下运动;本机还具有能自动上料,下料管耐烫性好的优点。


