授权公布号:CN213187836U
细胞冻存管转移器
有效
申请
2020-06-12
申请公布
1970-01-01
授权
2021-05-14
预估到期
2030-06-12
| 申请号 | CN202021082299.7 |
| 申请日 | 2020-06-12 |
| 授权公布号 | CN213187836U |
| 授权公告日 | 2021-05-14 |
| 分类号 | A01N1/02 |
| 分类 | 农业;林业;畜牧业;狩猎;诱捕;捕鱼; |
| 申请人名称 | 深圳市北科生物科技有限公司 |
| 申请人地址 | 广东省深圳市南山区粤海街道高新南九道59号北科大厦16楼 |
专利法律状态
2021-05-14
授权
状态信息
授权
摘要
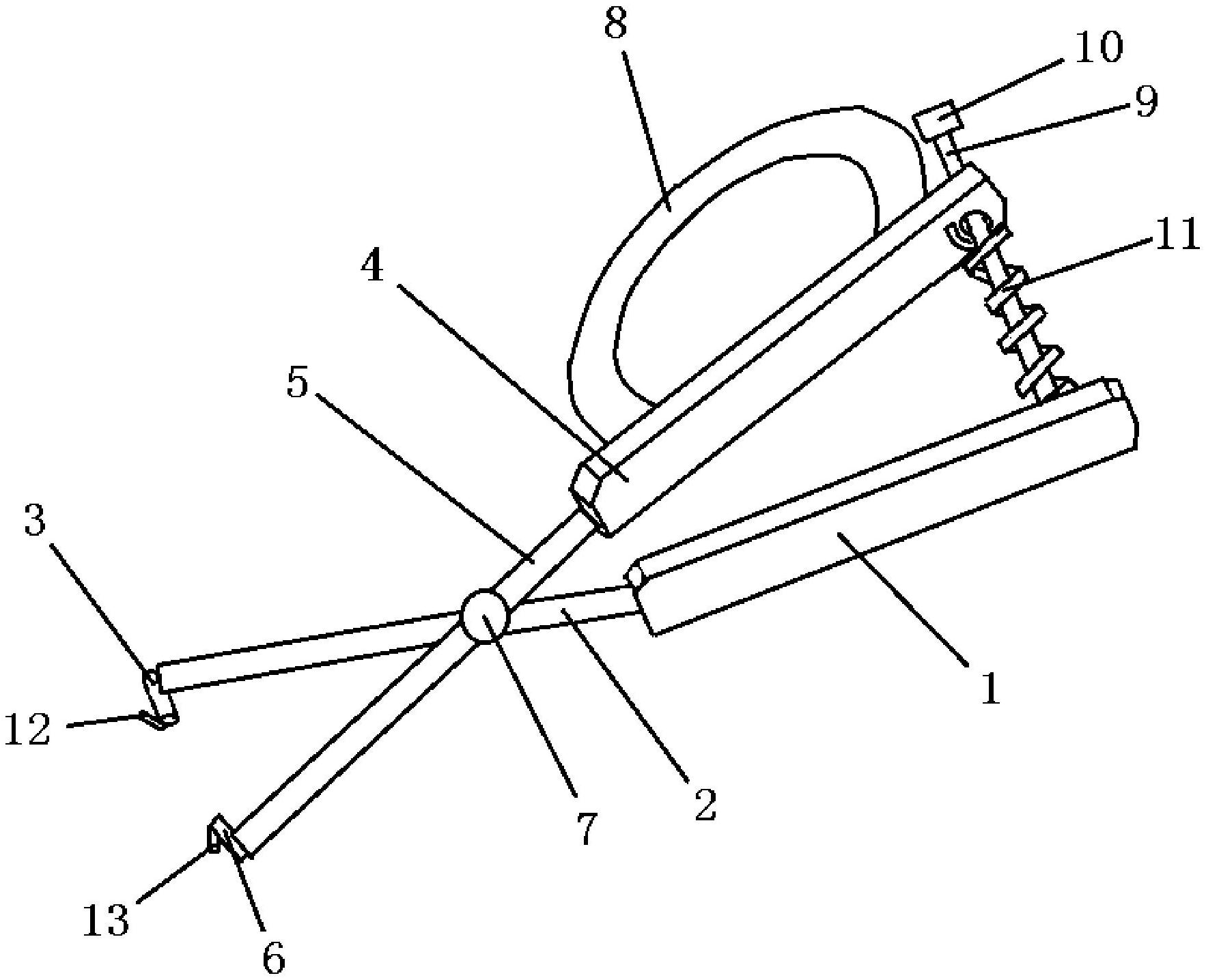
本实用新型提供了一种细胞冻存管转移器,包括左连杆、右连杆和转动旋钮,左连杆和右连杆通过转动旋钮铰接,左连杆的一端连接有左压板,左连杆的另一端设有左连接杆,左连接杆上设有左卡齿;右连杆的一端连接有右压板,右连杆的另一端设有右连接杆,右连接杆上设有右卡齿,左压板或右压板连接有指圈,左压板、右压板和指圈套设有绝热层,左压板和右压板之间设有弹性件。本实用新型的有益效果在于:提供了一种结构合理、安全可靠的细胞冻存管转移器,可以方便地转移细胞冻存管,能够有效缓解操作人员因长时间操作转移细胞冻存管器械产生的手部疲劳,提高了细胞冻存管转移器使用的舒适性、操作安全性,并且提高了工作效率。


