授权公布号:CN216404377U
一种采样系统
有效
申请
2022-03-25
申请公布
1970-01-01
授权
2022-04-29
预估到期
2032-03-25
| 申请号 | CN202220658196.3 |
| 申请日 | 2022-03-25 |
| 授权公布号 | CN216404377U |
| 授权公告日 | 2022-04-29 |
| 分类号 | C12M1/24;C12M1/26;C12M1/12;C12M1/00 |
| 分类 | 生物化学;啤酒;烈性酒;果汁酒;醋;微生物学;酶学;突变或遗传工程; |
| 申请人名称 | 博奥生物集团有限公司 |
| 申请人地址 | 北京市昌平区生命科学园路18号 |
专利法律状态
2022-04-29
授权
状态信息
授权
摘要
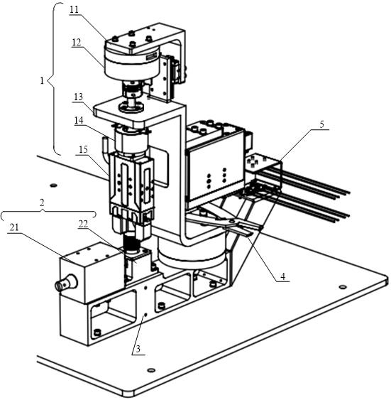
本实用新型公开了一种采样系统,包括:用于输送并转运采样管的机械臂、底座和集成在所述底座上的夹管装置、拧管装置、消毒装置和剪断装置;所述夹管装置用于夹持采样管;所述拧管装置用于打开和关闭所述采样管的盖子,所述拧管装置可相对于所述夹管装置运动;所述剪断装置用于剪断拭子采集棒,且所述剪断装置可相对于所述夹管装置运动;所述消毒装置用于对所述剪断装置进行消毒。通过在底座上集成夹管装置、拧管装置、消毒装置和剪断装置,并通过拧管装置和剪断装置的运动,实现对采样管的不同操作,避免了采样管自身的转运,降低了安全隐患。


