授权公布号:CN217800489U
一种精镗曲轴孔专机抬起输送上料的自动化上下料抓手
有效
申请
2022-06-10
申请公布
1970-01-01
授权
2022-11-15
预估到期
2032-06-10
| 申请号 | CN202221437311.0 |
| 申请日 | 2022-06-10 |
| 授权公布号 | CN217800489U |
| 授权公告日 | 2022-11-15 |
| 分类号 | B23Q7/04 |
| 分类 | 机床;不包含在其他类目中的金属加工; |
| 申请人名称 | 昆明云内动力股份有限公司 |
| 申请人地址 | 云南省昆明市自由贸易试验区昆明片区经开区经景路66号 |
专利法律状态
2022-11-15
授权
状态信息
授权
摘要
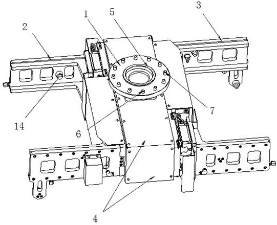
本实用新型涉及一种精镗曲轴孔专机抬起输送上料的自动化上下料抓手,包括一号夹爪、二号夹爪和连接件;连接件包括连接法兰、连接法兰下方的方形支撑体和设置在方形支撑体上的两个夹爪连接板;一号夹爪和二号夹爪分别连接在两个夹爪连接板上;连接法兰的中心还设有用于与机器人手臂端面圆盘定位连接的定位套;夹爪连接板为板状结构,分别设有用于与一号夹爪或二号爪夹定位的两颗圆柱定位销,并开设有用于与一号夹爪或二号夹爪连接的螺栓孔;本实用新型通过设置与机器人手臂端面圆盘连接的连接件和与连接件连接的一号夹爪和二号夹爪,利用精镗曲轴孔专机抬起输送的工件状态通常刚好旋转180°的结构,提高了自动化上下料系统节拍和效率。


