授权公布号:CN210629095U
一种可插拔式模块化交直流电源浪涌保护器结构
有效
申请
2019-11-26
申请公布
1970-01-01
授权
2020-05-26
预估到期
2029-11-26
| 申请号 | CN201922064870.6 |
| 申请日 | 2019-11-26 |
| 授权公布号 | CN210629095U |
| 授权公告日 | 2020-05-26 |
| 分类号 | H02H9/00;H02H9/04;H02H7/00;H02H1/00 |
| 分类 | 发电、变电或配电; |
| 申请人名称 | 广东安迅防雷科技股份有限公司 |
| 申请人地址 | 广东省深圳市龙岗区布吉街道上水径下七块达成工业园研发综合楼第四层 |
专利法律状态
2020-05-26
授权
状态信息
授权
摘要
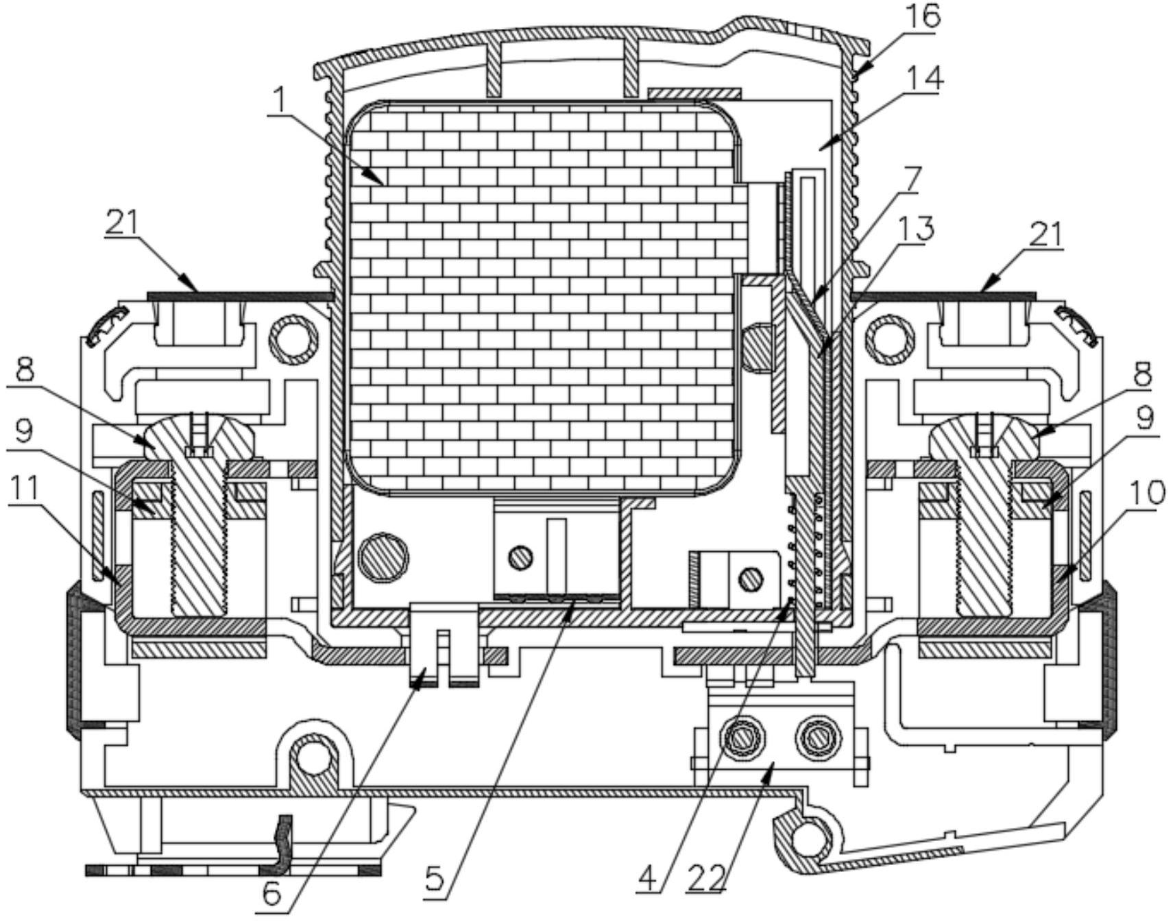
本实用新型公开了一种可插拔式模块化交直流电源浪涌保护器结构,包括基础底座和插设于基础底座上的基础插件,基础底座和基础插件插接后电路导通并形成榫卯结构,进而形成基础模块,基础插件内腔安装有压敏电阻器或限压元件及设置在压敏电阻器一侧的拉弧灭弧结构,在自身热保护脱扣后,拉弧灭弧结构通过拉长电弧来灭弧,且覆盖可起弧的相关金属件以抑制电弧复燃。本实用新型电源浪涌保护器结构可实现短路耐受脱扣时快速灭弧;改善现有结构短路电流测试时的热保护脱扣后灭弧效果不好的问题。本实用新型能够降低遥信故障率;改善现有结构在运输和安装过程中产生的震动撞击等导致的遥信异常情况。本实用新型具有高通用性,节能性,模块化生产特性。


