授权公布号:CN216216936U
一种消防物联网网关设备和系统
有效
申请
2021-10-19
申请公布
1970-01-01
授权
2022-04-05
预估到期
2031-10-19
| 申请号 | CN202122516090.8 |
| 申请日 | 2021-10-19 |
| 授权公布号 | CN216216936U |
| 授权公告日 | 2022-04-05 |
| 分类号 | H04L12/66;H04W88/16;H04Q1/04;H04Q1/02;H04Q9/00;G01D21/02;G16Y20/10;G16Y10/80;G16Y30/00;G16Y40/10 |
| 分类 | 电通信技术; |
| 申请人名称 | 深圳市赋安安全系统有限公司 |
| 申请人地址 | 广东省深圳市南山区粤海街道高新区社区高新南一道013号赋安科技大楼A栋9层 |
专利法律状态
2022-04-05
授权
状态信息
授权
摘要
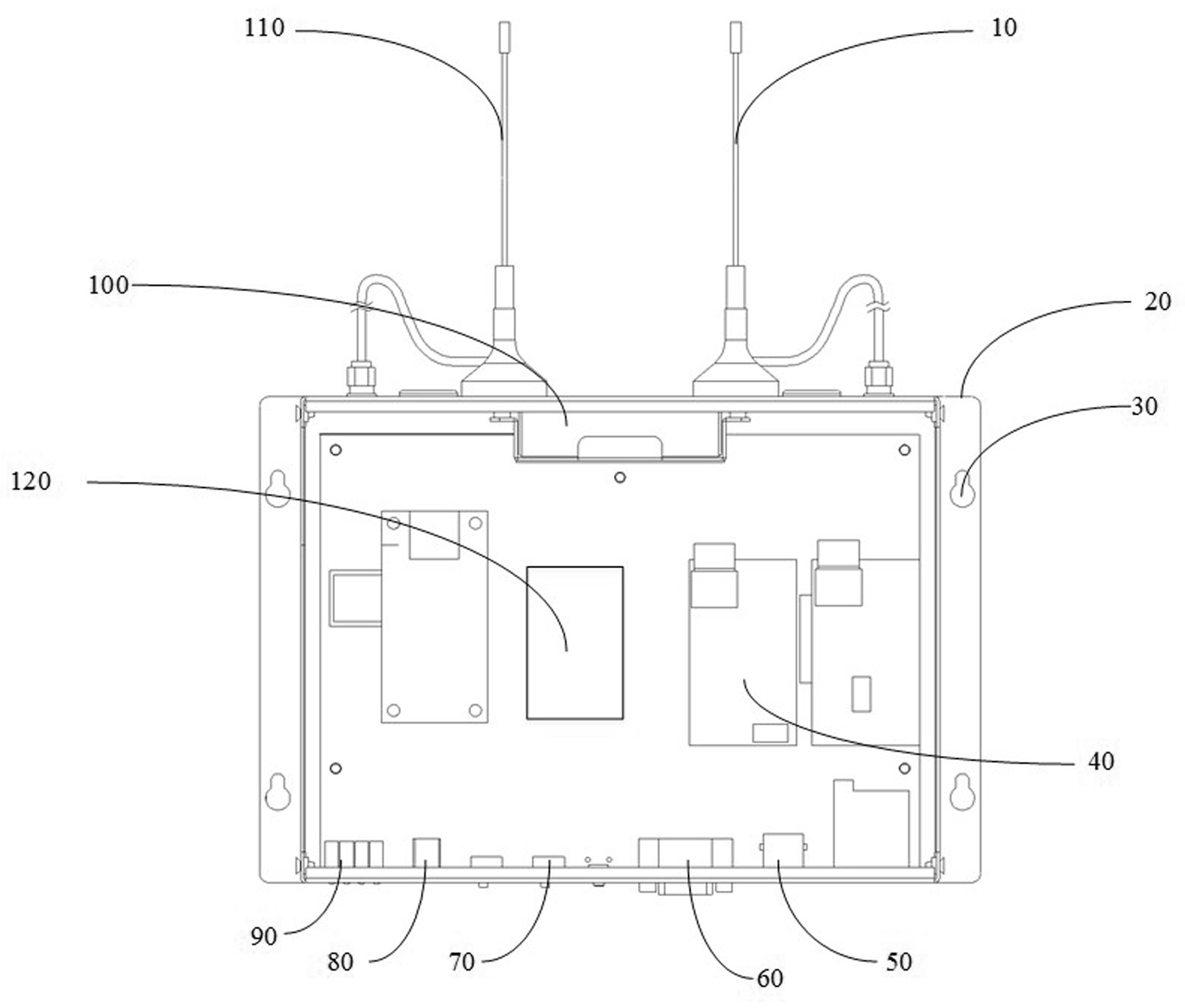
本实用新型公开了一种消防物联网网关设备和系统,涉及物联网通信技术领域。一种消防物联网网关设备具体包括壳体,设置于壳体内的中央处理模块,连接于所述中央处理模块用于接收传感器和/或中继器发送的数据的无线接收模块,以及连接于所述中央处理模块用于将中央处理模块处理的数据转发至下一节点的无线输出模块,其中所述无线接收模块为LORA模块。旨在实现现有消防物联网网关设备与传感器或者中继器之间的无线连接,便于网络拓展。


