授权公布号:CN220438959U
一种可拆卸的轻型动力触探仪自动计数器
有效
申请
2023-08-10
申请公布
1970-01-01
授权
2024-02-02
预估到期
2033-08-10
| 申请号 | CN202322142454.X |
| 申请日 | 2023-08-10 |
| 授权公布号 | CN220438959U |
| 授权公告日 | 2024-02-02 |
| 分类号 | G06M1/274;E02D1/00 |
| 分类 | 计算;推算;计数; |
| 申请人名称 | 中国铁建股份有限公司 |
| 申请人地址 | 北京市海淀区复兴路40号 |
专利法律状态
2024-02-02
授权
状态信息
授权
摘要
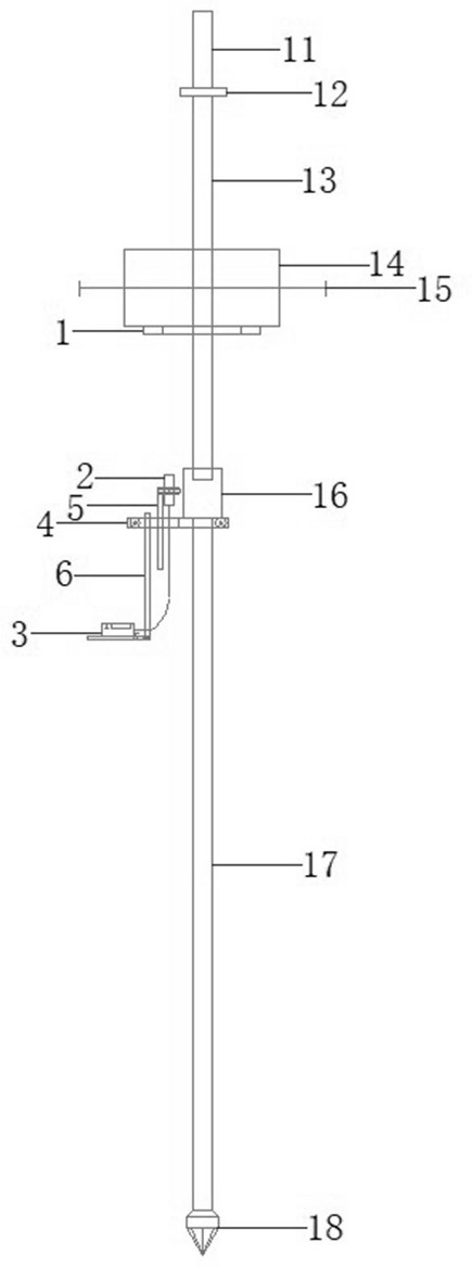
本实用新型涉及一种可拆卸的轻型动力触探仪自动计数器,包括磁环、磁感应传感器、计数器,其中磁环可拆卸的安装在击锤上,磁感应传感器可拆卸的安装在探杆上,磁环和磁感应传感器之间构成感应连接,计数器与磁感应传感器构成电信号连接。本实用新型的优点是:可以直接安装在传统的轻型动力触探仪上使用,自动记录击锤下落的次数,无需淘汰原有设备购置新设备,成本优势明显;避免了冲击接触可能引发的机械问题、安装问题和稳定性问题;方便拆卸和更换,大大提高了使用效率和维护便利性,可适用于各类动力触探仪,具有极广的应用范围;直接记录了数字化的锤击数,可以接入自动化勘察系统,提高勘察作业的数字化水平。


