授权公布号:CN115722925B
一种装配式建筑套筒预埋件成型加工装置
有效
申请
2022-12-08
申请公布
2023-03-03
授权
2023-06-13
预估到期
2042-12-08
| 申请号 | CN202211568659.8 |
| 申请日 | 2022-12-08 |
| 申请公布号 | CN115722925A |
| 申请公布日 | 2023-03-03 |
| 授权公布号 | CN115722925B |
| 授权公告日 | 2023-06-13 |
| 分类号 | B23P23/02;B23Q7/02;B23Q3/06 |
| 分类 | 机床;不包含在其他类目中的金属加工; |
| 申请人名称 | 青建集团股份公司 |
| 申请人地址 | 山东省青岛市市北区堂邑路11号 |
专利法律状态
2023-06-13
授权
状态信息
授权
2023-03-21
实质审查的生效
状态信息
实质审查的生效;IPC(主分类):B23P23/02;申请日:20221208
2023-03-03
公布
状态信息
公布
摘要
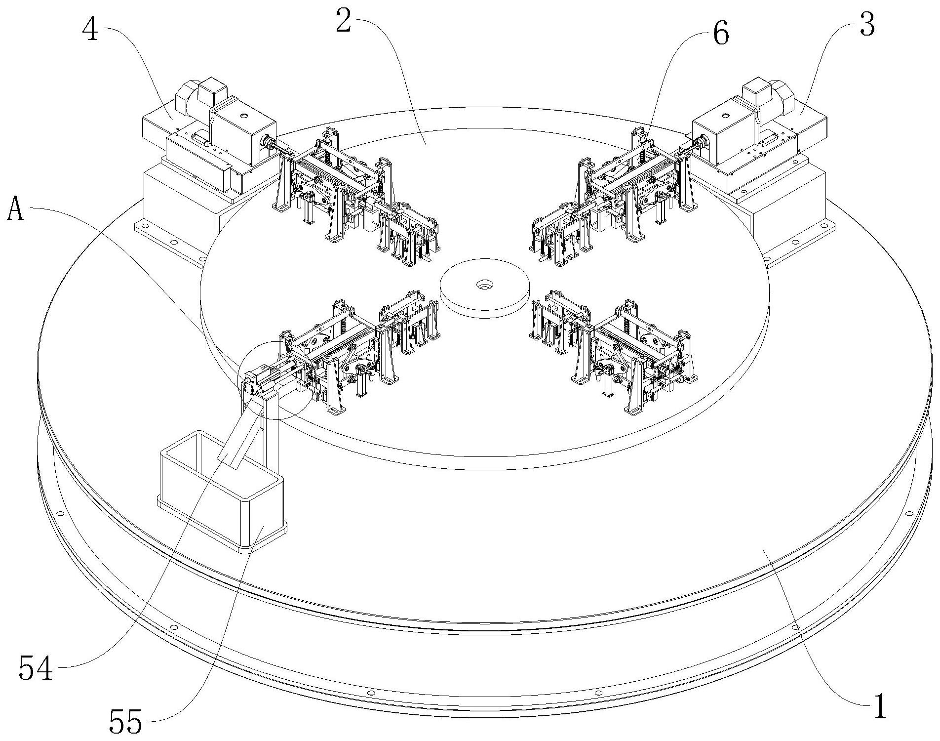
本发明涉及套筒攻丝装置相关领域,具体是涉及一种装配式建筑套筒预埋件成型加工装置,包括转盘工位、转盘平台、钻孔机、攻丝机、出料件以及两个顶升机构,转盘平台上设置有四组夹具组件,每组夹具组件均包括两个横向夹块、四个倾斜夹板、两个纵向夹块、第一顶升件、轴向顶杆、第二顶升件以及两个外端挡块,顶升机构包括第一顶板和第二顶板,出料件包括能够沿转盘平台径向平移并顶开两个外端挡块的异形顶板。本发明中通过四工位式的转盘工位,配合特定设计的夹具组件,将螺纹钢套筒中螺纹孔的钻孔和攻丝步骤整合在一起,对螺纹钢套筒钻完孔后紧接着便进行攻丝操作,且中途螺纹钢套筒无需额外转运,保证了钻孔攻丝过程的稳定进行。


