授权公布号:CN219471508U
一种用于搭建操作平台的工字钢辅助限位机构
有效
申请
2023-02-24
申请公布
1970-01-01
授权
2023-08-04
预估到期
2033-02-24
| 申请号 | CN202320328103.5 |
| 申请日 | 2023-02-24 |
| 授权公布号 | CN219471508U |
| 授权公告日 | 2023-08-04 |
| 分类号 | E04G5/00;E04G5/04 |
| 分类 | 建筑物; |
| 申请人名称 | 云南省建设投资控股集团有限公司 |
| 申请人地址 | 云南省昆明市经开区信息产业基地林溪路188号建投发展大厦 |
专利法律状态
2023-08-04
授权
状态信息
授权
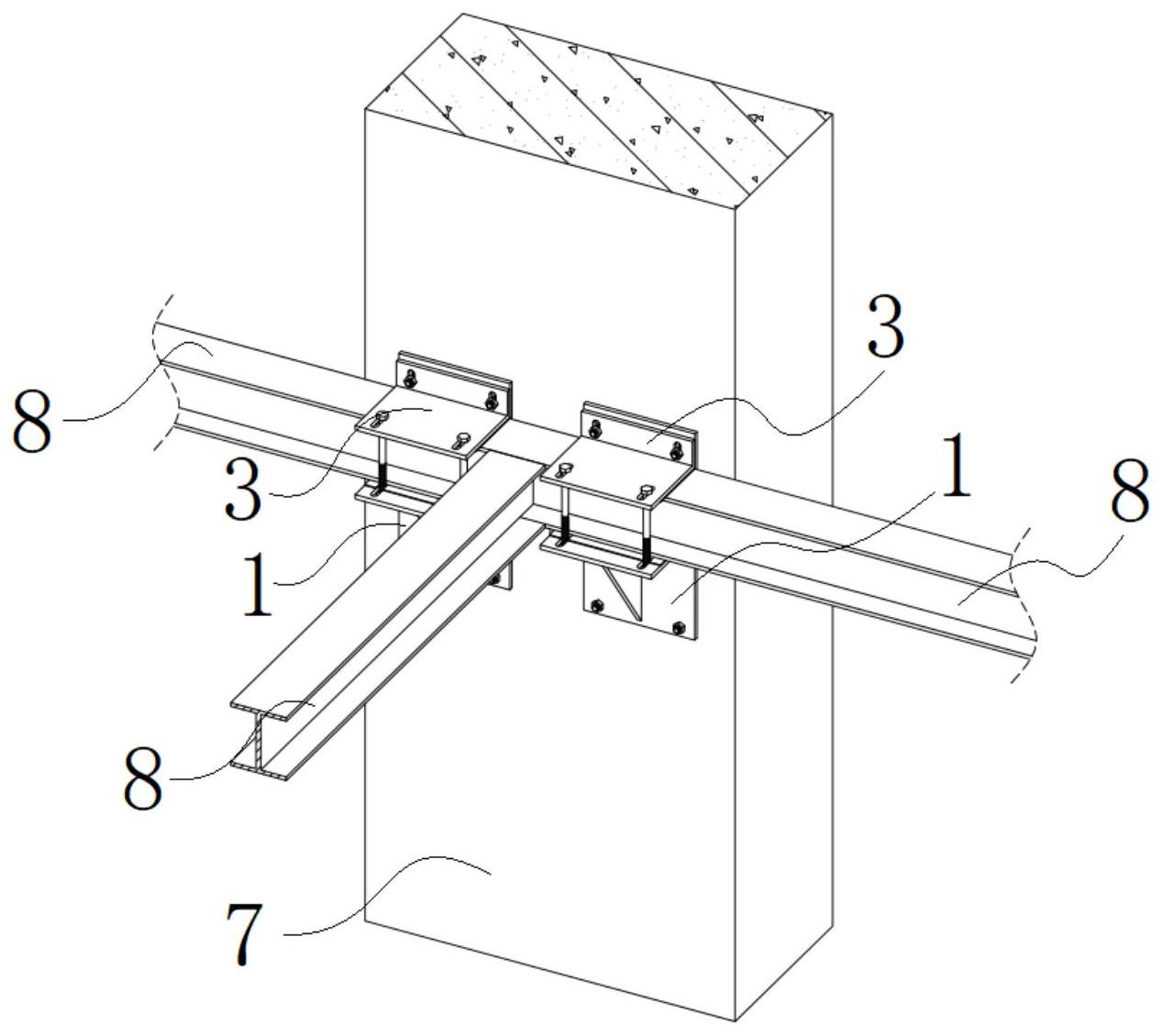
摘要
本实用新型公开一种用于搭建操作平台的工字钢辅助限位机构,包括可拆卸地安装于建筑物上的工字钢辅助限位机构,该工字钢辅助限位机构包括:可调限位支座,可调限位支座下端通过紧固件与建筑物连接;可调支座,可调支座的立面通过连接件与可调限位支座的上端立面连接,可调支座的顶面通过可调限位组件与可调限位支座的顶面连接;可调限位支座与可调支座之间构成用于实现安装限位工字钢的限位空腔。本实用新型构造简易、设计新颖合理,受力模型简单,原理应用新颖,且无需在主体施工时提前预埋,杜绝了传统的搭设脚手架进行使用时费时费力,占用空间大且存在不安全的隐患,也实现了最大限度的减轻了操作人员劳动强度。


