授权公布号:CN218843637U
一种方便打孔安装公共照明设备的装置
有效
申请
2022-08-31
申请公布
1970-01-01
授权
2023-04-11
预估到期
2032-08-31
| 申请号 | CN202222306638.0 |
| 申请日 | 2022-08-31 |
| 授权公布号 | CN218843637U |
| 授权公告日 | 2023-04-11 |
| 分类号 | E04F21/00;E04G21/00;B25H7/04 |
| 分类 | 建筑物; |
| 申请人名称 | 云南省建设投资控股集团有限公司 |
| 申请人地址 | 云南省昆明市经开区信息产业基地林溪路188号建投发展大厦 |
专利法律状态
2023-04-11
授权
状态信息
授权
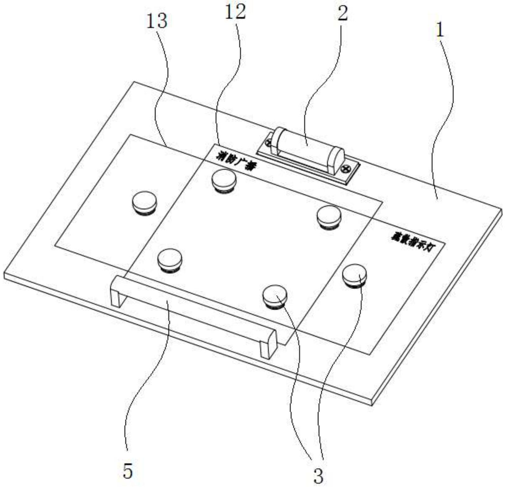
摘要
本实用新型公开了一种方便打孔安装公共照明设备的装置,包括底板,底板中部设置有若干个标记孔;底板表面的上部安装有水平仪;底板表面的标记孔上同轴设置有标记组件;标记组件中部同轴设置有复位弹簧;底板表面的下部设置有把手;其中,底板平贴按压在墙壁上时,按压标记组件可在墙壁上留下标记孔位置记号。本实用新型利用底板作为公共照明设备安装孔位置模板,将消防广播和疏散指示灯的安装孔位和测量安装孔位水平度的水平仪集成到底板上,并在安装孔位上设置可按压标记安装孔位置的标记组件,将测量、定位和标记的工作集成于一体,实现公共照明设备的快速定位。


