授权公布号:CN206987366U
能够对承载力进行优化的顶升支撑结构
有效
申请
2017-07-14
申请公布
1970-01-01
授权
2018-02-09
预估到期
2027-07-14
| 申请号 | CN201720860819.4 |
| 申请日 | 2017-07-14 |
| 授权公布号 | CN206987366U |
| 授权公告日 | 2018-02-09 |
| 分类号 | E04G11/22 |
| 分类 | 建筑物; |
| 申请人名称 | 四川华西集团有限公司 |
| 申请人地址 | 四川省成都市解放路二段九十五号 |
专利法律状态
2018-02-09
授权
状态信息
授权
摘要
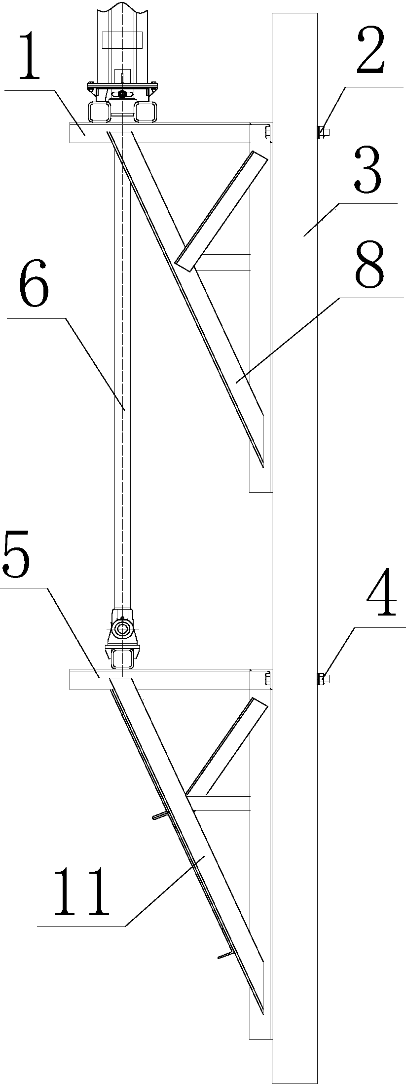
本实用新型公开了一种能够对承载力进行优化的顶升支撑结构,包括均与剪力墙固定的下支撑架和上支撑架,所述下支撑架设置在上支撑架的正下方并且在顶升过程中下支撑架的顶部能够插入到上支撑架中,在下支撑架顶面上安装有液压机构,液压机构穿过上支撑架并与上支撑架顶部固定,液压机构能够带动上支撑架和下支撑架进行相对移动。该支撑结构在不破坏或改变建筑本身的结构的前提下,能够在满足超高层建筑施工过程中的顶升时的受力和稳定性需求,其承载高,自重轻,连接可靠且操作简便,大大提高了工效。


