授权公布号:CN218932962U
一种市政道路防撞装置
有效
申请
2023-02-22
申请公布
1970-01-01
授权
2023-04-28
预估到期
2033-02-22
| 申请号 | CN202320280795.0 |
| 申请日 | 2023-02-22 |
| 授权公布号 | CN218932962U |
| 授权公告日 | 2023-04-28 |
| 分类号 | E01F15/02 |
| 分类 | 道路、铁路或桥梁的建筑; |
| 申请人名称 | 太平洋建设集团有限公司 |
| 申请人地址 | 新疆维吾尔自治区乌鲁木齐市高新区(新市区)四平路2288号 |
专利法律状态
2023-04-28
授权
状态信息
授权
摘要
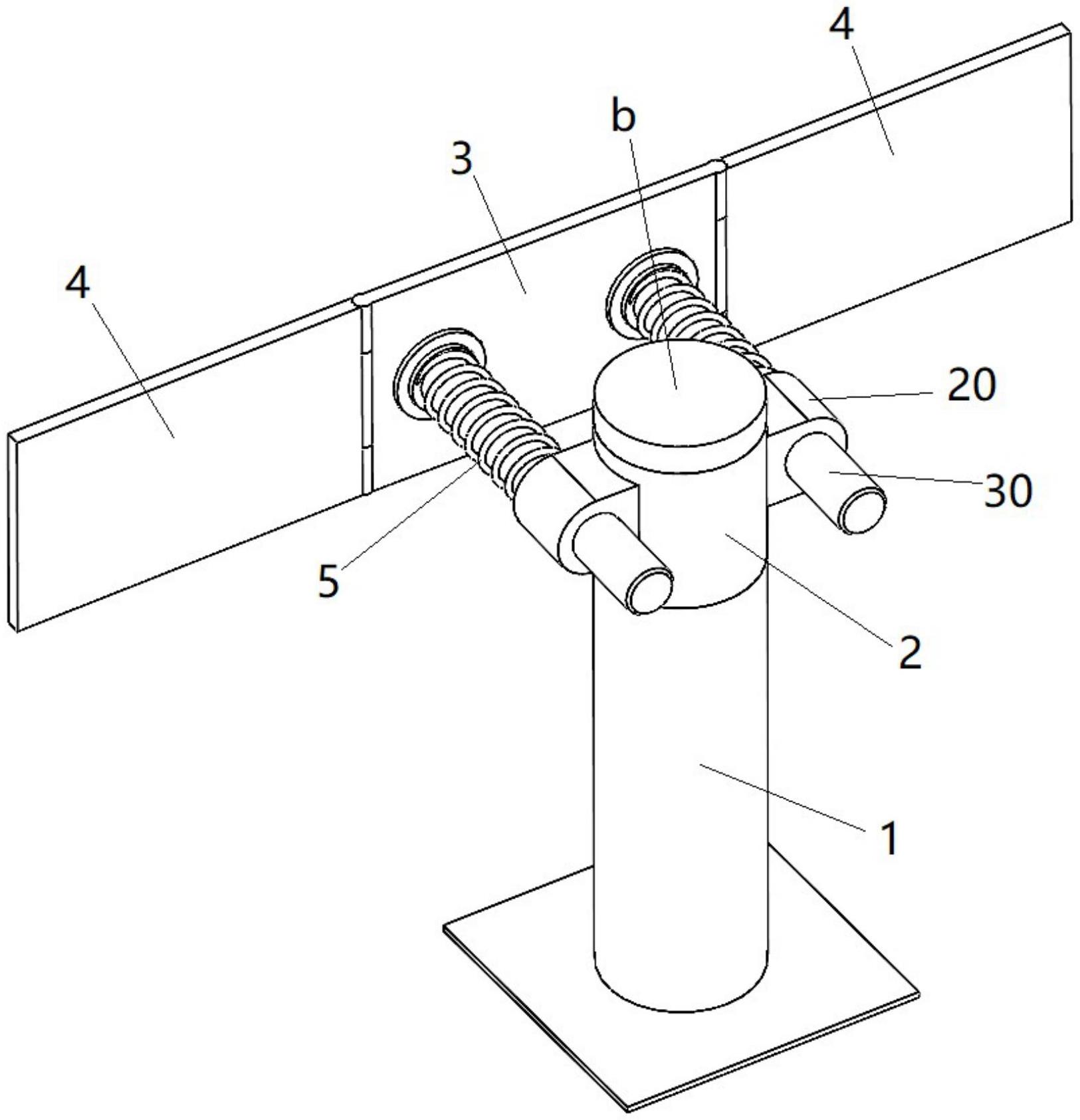
一种市政道路防撞装置,包括立柱、转动件、连接板和第一弹性缓冲件;立柱安装于地面上,转动件转动于立柱上,转动件上设有滑动套,连接板的两端分别铰接有防护栏,连接板一侧还设有滑动轴,滑动轴穿设于滑动套内,并且滑动轴与立柱垂直设置,第一弹性缓冲件套设于滑动轴上,并且其两端分别连接在连接板和滑动套上。其中,由于转动件的设置,在防护栏受到撞击时,防护栏会拉扯着连接板绕立柱转动,防止滑动轴受到剪切力作用而弯曲或折断。


