授权公布号:CN217922903U
一种市政路缘石结构
有效
申请
2022-08-01
申请公布
1970-01-01
授权
2022-11-29
预估到期
2032-08-01
| 申请号 | CN202222001004.4 |
| 申请日 | 2022-08-01 |
| 授权公布号 | CN217922903U |
| 授权公告日 | 2022-11-29 |
| 分类号 | E01C11/22 |
| 分类 | 道路、铁路或桥梁的建筑; |
| 申请人名称 | 太平洋建设集团有限公司 |
| 申请人地址 | 新疆维吾尔自治区乌鲁木齐市高新区(新市区)四平路2288号 |
专利法律状态
2022-11-29
授权
状态信息
授权
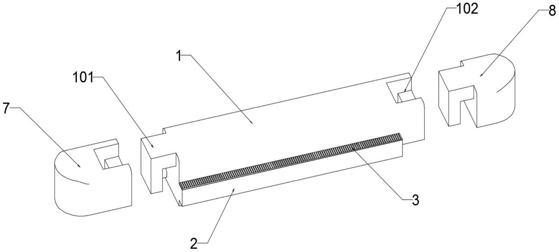
摘要
一种市政路缘石结构,包括路缘石、排水槽、滤板;排水槽与路缘石固定动连接;滤板与排水槽卡接连接;第一连接头设置在路缘石的一端且固定连接;第二连接头,设置在路缘石的另一端且固定连接;路缘石的两端分别开设有榫头与卯槽,且榫头、卯槽与路缘石且一体式结构,第一连接头设置在榫头的下方,第二连接头设置在卯槽的下方,其中榫头与卯槽的结构可互相咬合形成榫卯式连接结构,第一连接头与第二连接头的结构互补,可互相接合组成管道结构。采用榫卯式的连接方式,使得路缘石之间具有了很强的连接性,且具有良好的排水性,并能够将排放的水分进进行集中,方便进行收集。


