授权公布号:CN217520858U
破碎岩体节理切割装置
有效
申请
2022-05-27
申请公布
1970-01-01
授权
2022-09-30
预估到期
2032-05-27
| 申请号 | CN202221352104.5 |
| 申请日 | 2022-05-27 |
| 授权公布号 | CN217520858U |
| 授权公告日 | 2022-09-30 |
| 分类号 | G01N1/28 |
| 分类 | 测量;测试; |
| 申请人名称 | 云南建投第一勘察设计有限公司 |
| 申请人地址 | 云南省昆明市羊仙坡中段十四冶勘察设计工程公司宿舍2栋 |
专利法律状态
2022-09-30
授权
状态信息
授权
2022-05-27
公布
状态信息
公布
摘要
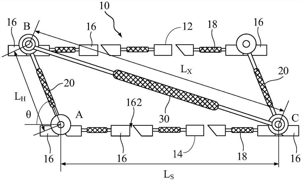
本实用新型公开了一种破碎岩体节理切割装置,包括节理切割面板、连接杆及斜拉杆。节理切割面板包括平行设置的顶板和底板,顶板和底板均包括多个切割模块,相邻切割模块通过伸缩杆连接,每个切割模块均设有切缝。连接杆设有两个,连接杆、底板、另一连接杆及顶板依次铰接以围成四边形,连接杆能够伸缩以适应顶板和底板的相对错动。斜拉杆的一端与顶板的首端铰接,斜拉杆的另一端与底板的尾端铰接,斜拉杆能够伸缩,以适应顶板和底板的相对运动。上述破碎岩体节理切割装置,组成简单、制作成本低廉、使用场景灵活、节理切割精度高,可以广泛用于岩土模型试验领域中节理面、节理组的精确切割。


