授权公布号:CN101543682B
一种酒精糟液的浓缩系统及其浓缩方法
有效
申请
2009-04-28
申请公布
2009-09-30
授权
2010-12-29
预估到期
2029-04-28
| 申请号 | CN200910022245.3 |
| 申请日 | 2009-04-28 |
| 申请公布号 | CN101543682A |
| 申请公布日 | 2009-09-30 |
| 授权公布号 | CN101543682B |
| 授权公告日 | 2010-12-29 |
| 分类号 | B01D1/26 |
| 分类 | 一般的物理或化学的方法或装置; |
| 申请人名称 | 中国轻工业西安设计工程有限责任公司 |
| 申请人地址 | 陕西省西安市柿园路222号 |
专利法律状态
2010-12-29
授权
状态信息
授权
2009-11-25
实质审查的生效
状态信息
实质审查的生效
2009-09-30
公布
状态信息
公布
摘要
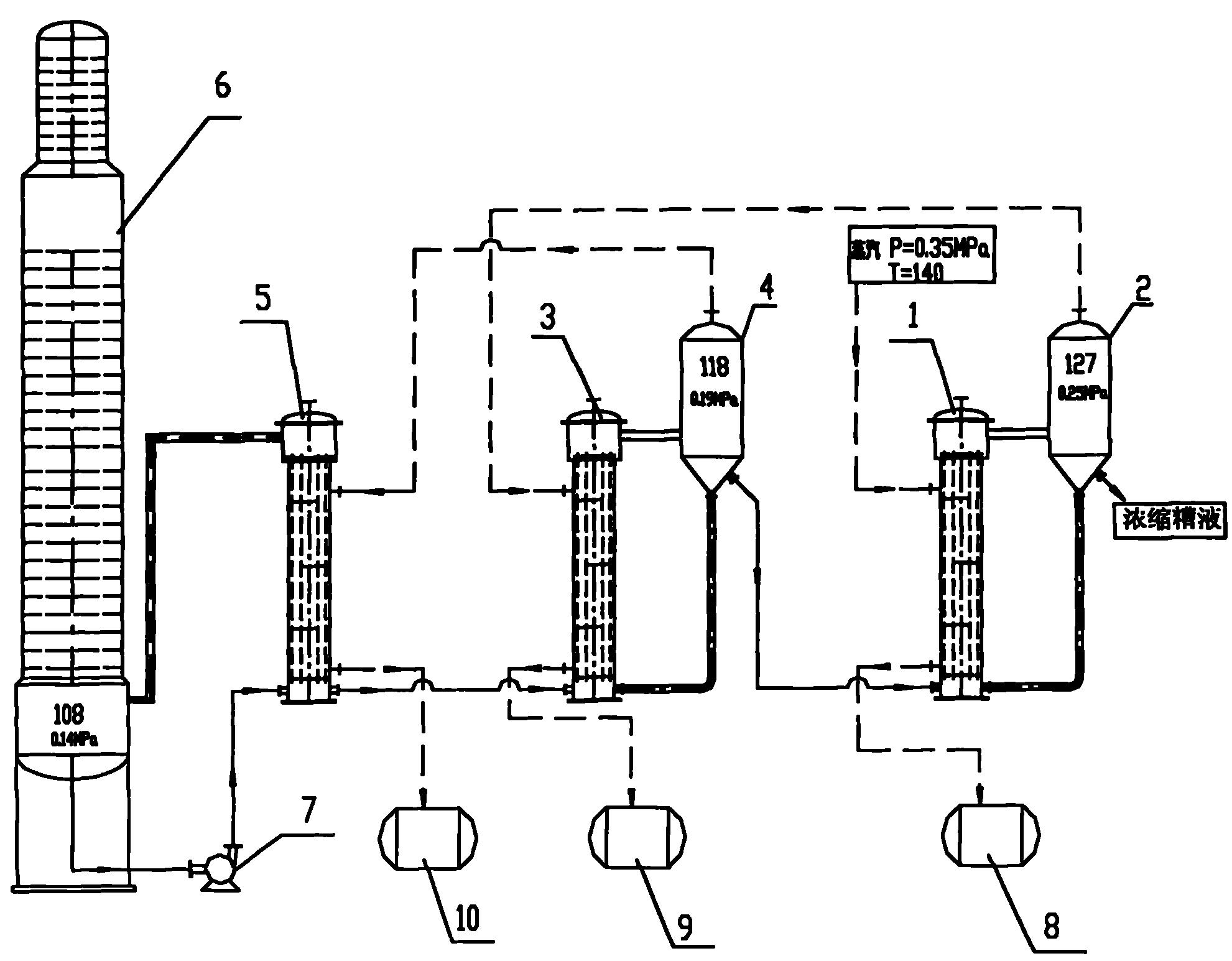
本发明属于酒精制备领域,涉及酒精糟液的节能减排处理,公开了一种酒精糟液浓缩系统及其浓缩方法。该系统中设置I效蒸发器、II效蒸发器和III效蒸发器,在酒精生产时,外接蒸汽由I效蒸发器进入,产生的I效汁汽作为II效蒸发器的热源,依次类推,II效蒸发器产生的II效汁汽作为III效蒸发器的热源,由III效加热器产生的III效汁汽直接进入蒸馏塔塔釜,使酒精在蒸馏塔中得到分离;利用三效蒸发器对酒精原糟液进行浓缩,并采用蒸馏用汽与蒸发用汽有效偶合,使蒸汽能量多次利用,在完成蒸馏工艺的前提下,酒精糟液也得到了浓缩,从而减少了浓缩用汽。


