授权公布号:CN204999678U
一种膜-生物反应器膜污染的去除装置
失效
申请
2015-09-10
申请公布
1970-01-01
授权
2016-01-27
预估到期
2025-09-10
| 申请号 | CN201520700650.7 |
| 申请日 | 2015-09-10 |
| 授权公布号 | CN204999678U |
| 授权公告日 | 2016-01-27 |
| 分类号 | C02F3/00;B01D65/04 |
| 分类 | 水、废水、污水或污泥的处理; |
| 申请人名称 | 上海现代建筑设计(集团)有限公司 |
| 申请人地址 | 上海市静安区石门二路268号4楼 |
专利法律状态
2023-09-15
专利权的终止
状态信息
未缴年费专利权终止;IPC(主分类):C02F3/00;专利号:ZL2015207006507;申请日:20150910;授权公告日:20160127;终止日期:
2016-01-27
授权
状态信息
授权
摘要
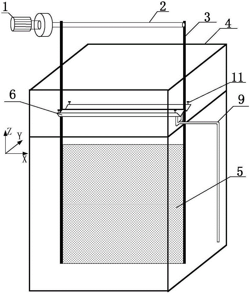
本实用新型公开了一种膜-生物反应器膜污染的去除装置,包括牵引组件、污染清除组件、污染物导出组件和清洗力度调节组件;牵引组件包括牵引电机、牵引导辊和牵引链条,牵引导辊与牵引电机连接,牵引链条平行设有两根,每根牵引链条的上端绕设在牵引导辊上,下端伸入膜-生物反应器中与膜连接;污染清除组件包括V型刮刀和刮刀转轴,刮刀转轴的一端连接固定支架,另一端连接V型刮刀,牵引链条设于两个V型刮刀之间;污染物导出系统包括清理刷和污染物排出管,清理刷设置在V型刮刀的一侧,V型刮刀另一侧的底面与污染物排出管连通。本实用新型结构合理紧凑,人工成本低廉,时间耗费少,不影响膜-生物反应器的正常运行,切实满足实际应用的需要。


