授权公布号:CN212173086U
一种冷链物流运输保冷箱箱门结构
有效
申请
2020-04-28
申请公布
1970-01-01
授权
2020-12-18
预估到期
2030-04-28
| 申请号 | CN202020680984.3 |
| 申请日 | 2020-04-28 |
| 授权公布号 | CN212173086U |
| 授权公告日 | 2020-12-18 |
| 分类号 | B65D43/16;B65D25/02;B65D25/24 |
| 分类 | 输送;包装;贮存;搬运薄的或细丝状材料; |
| 申请人名称 | 广东雪印集团有限公司 |
| 申请人地址 | 广东省韶关市武江区沐溪工业园沐溪大道205号标准厂房D幢3楼304 |
专利法律状态
2020-12-18
授权
状态信息
授权
摘要
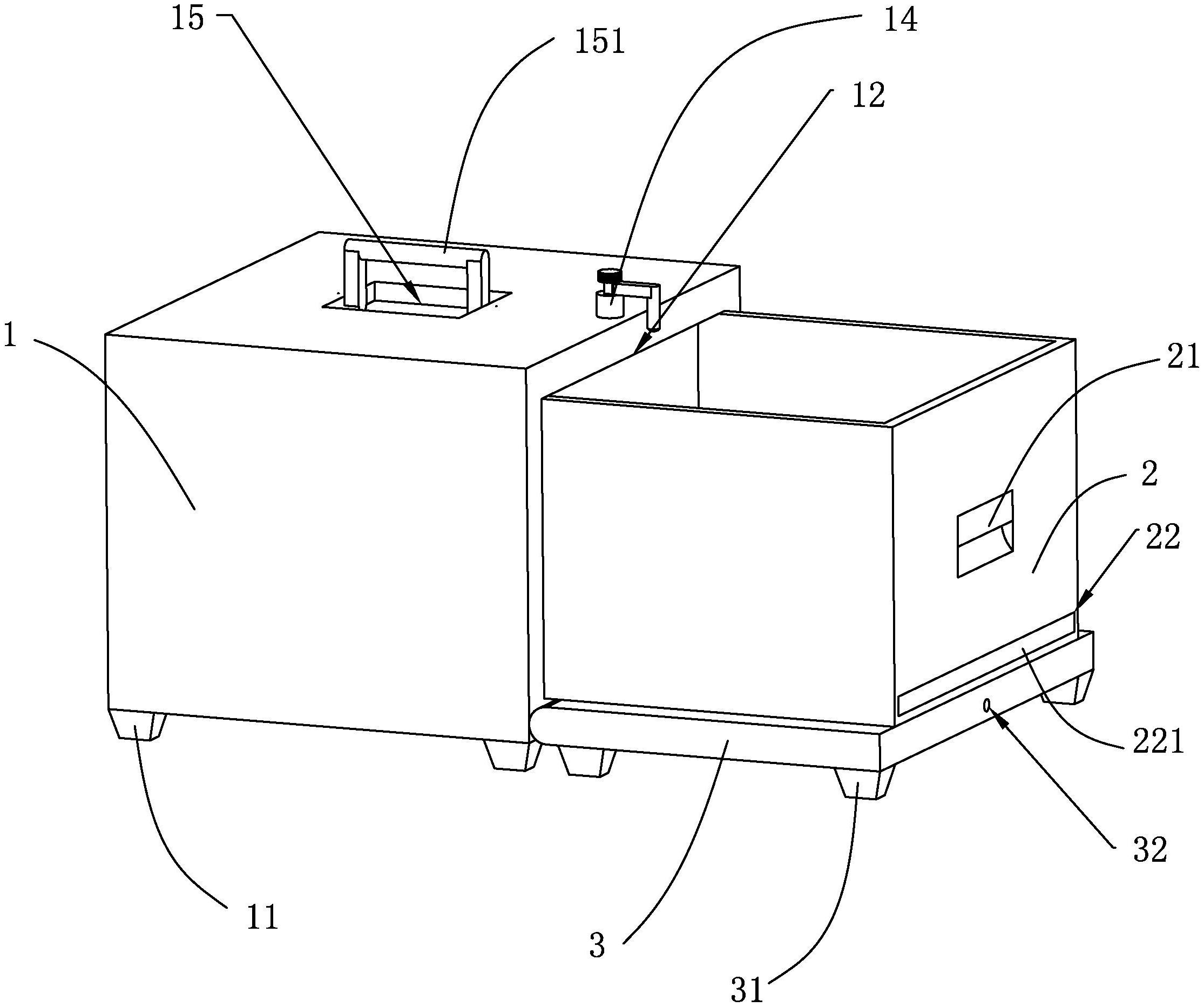
本实用新型涉及一种冷链物流运输保冷箱箱门结构,包括箱体及箱门,箱体的左端面开设有箱口,箱门与箱口竖直下方的箱底的边沿铰接,箱体内部套接有货箱,货箱的上端开口设置,货箱的底面与箱体的箱底内周面抵接滑动,箱门打开时,箱门的上端面与箱体的箱底共面,货箱能够拉出箱口并与箱门抵接;箱门靠近箱口上端内周面的端面开设有插孔,箱体的上端面靠近箱口的边沿设置有插接装置;当货箱套接入箱体内部后,插接装置插接入插孔内实现对箱门的锁死。本实用新型避免了物流人员将手伸入箱体内部放置物品,降低了物流人员的劳动强度,提升了劳动效率;同时在货箱内码放物品较为整齐,提升了箱体的空间利用率。


